Illuminator
@80EE.ADF - ILLUM-16/MC
Video Graphics Board
adi2_0.zip
ADI rendering driver
loadtga.exe
Load a TGA file with this executable
multiple.zip
Run two Illuminator-16's in the same PC
util204.zip
Illuminator-16 Utilities version 2.04
win31drv.zip
Windows 3.1 drivers
winovly.zip
Windows Overlay drivers
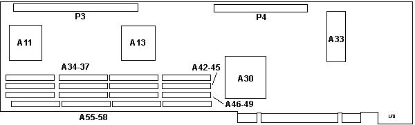
ILLUM-16/MC Base Card
ILLUM-16/MC Daughter
Card
ADF Sections
ILLUM-16/MC
Base Card
A11,13 VSDP/O
A30 VIC/O
A33 BIOS? 669.3 |
A34-37,42-49,55-59 TC524256Z-10
P3 72 pin header
P4 54 pin header |
ILLUM-16/MC
Daughter Card
A1 CA3183E
A5,10 NEC D42101C-3
A6 Bt PS00024
A7 Bt471KPJ35
A8 Bt101KPJ
A11 TDA3566
A23 CA3083 |
J1 DB9
J2 HDD15
P2 54 pin header
P3 72 pin header
RV1-6 No freakin' idea
X1 7.15909 MHz Xtal
X2 28.63636 MHz osc |
First thing, this has more jumpers than Carter's got liver
pills (pharmaceutical company, not the President). I have NO idea what
they are for.
AdapterId 80EE
ILLUM-16/MC Video Graphics Board - REV 1.0
; There are 3 pos registers to program on the Illuminator
NumBytes 3
; now we make sure the ROM protect is on, The Y axis is correct, The
TARGA access is OK. These will be re-programmed by the BIOS but I want
to make sure.
FixedResources pos[1]=XX1101XXb
CARD address
Select where the Illuminator card is going to be
decoded. If more than one card is put in a system, all cards should
be placed at different addresses. If it's not possible to put all
cards at different addresses, then only one should be decoded and
extra cards should have this option set to Disable card decoding.
<"Card segment at CC00h"
(CC00-CFFF), C000 (C000-C3FF), C400 (C400-C7FF), C800 (C800-CBFF),
D000 (D000-D3FF), D400 (D400- D7FF), D800 (D800-DBFF), DC00 (DC00-DFFF),
Disable card decoding
I/O address
Select where the I/O registers of the Illuminator
card are going to be decoded. If more than one card is put in a system,
all cards should be placed at different I/O addresses.
<"Disable I/O accesses">, (not sure if this is
the default)
200h (0200-0205, 0600-0603, 0A00-0A03, 0E00-0E03)
210h (0210-0225, 0610-0623, 0A10-0A23, 0E10-0E23)
220h (0220-0225, 0620-0623, 0A20-0A23, 0E20-0E23)
230h (0230-0235, 0630-0633, 0A30-0A33, 0E30-0E33)
240h (0240-0245, 0640-0643, 0A40-0A43, 0E40-0E43)
250h (0250-0255, 0650-0653, 0A50-0A53, 0E50-0E53)
260h (0260-0265, 0660-0663, 0A60-0A63, 0E60-0E63)
270h (0270-0275, 0670-0673, 0A70-0A73, 0E70-0E73)
280h (0280-0285, 0680-0683, 0A80-0A83, 0E80-0E83)
290h (0290-0295, 0690-0693, 0A90-0A93, 0E90-0E93)
2A0h (02A0-02A5, 06A0-06A3, 0AA0-0AA3, 0EA0-0EA3)
2B0h (02B0-02B5, 06B0-06B3, 0AB0-0AB3, 0EB0-0EB3)
2C0h (02C0-02C5, 06C0-06C3, 0AC0-0AC3, 0EC0-0EC3)
2D0h (02D0-02D5, 06D0-06D3, 0AD0-0AD3, 0ED0-0ED3)
2E0h (02E0-02E5, 06E0-06E3, 0AE0-0AE3, 0EE0-0EE3)
2F0h (02F0-02F5, 06F0-06F3, 0AF0-0AF3, 0EF0-0EF3)
frame buffer configuration
Selects where the frame buffer of the Illuminator card
is going to be decoded. If more then one card is put in a system, all cards
should be placed at different addresses. If it is impossible to place them
all at different addresses then only one of the cards should have it's
frame buffer programmed. Extra cards would then be set to No frame buffer.
Two 4k buffers at D000h 0D0000h - 0D1FFFh
Two 8k buffers at D000h 0D0000h - 0D3FFFh
Two 16k buffers at D000h 0D0000h - 0D7FFFh
Two 32k buffers at D000h 0D0000h - 0DFFFFh
Two 4k buffers at D400h 0D4000h - 0D5FFFh
Two 8k buffers at D400h 0D4000h - 0D7FFFh
Two 4k buffers at D800h 0D8000h - 0DDFFFh
Two 8k buffers at D800h 0D8000h - 0DBFFFh
Two 16k buffers at D800h 0D8000h - 0DFFFFh
Two 4k buffers at DC00h 0DC000h - 0DDFFFh
Two 8k buffers at DC00h 0DC000h - 0DFFFFh
Disable buffers
Two 4k buffers at A000h 0A0000h - 0A1FFFh
Two 8k buffers at A000h 0A0000h - 0A3FFFh
Two 16k buffers at A000h 0A0000h - 0A7FFFh
Two 32k buffers at A000h 0A0000h - 0AFFFFh
Two 4k buffers at A400h 0A4000h - 0A5FFFh
Two 8k buffers at A400h 0A4000h - 0A7FFFh
Two 4k buffers at A800h 0A8000h - 0AAFFFh
Two 8k buffers at A800h 0A8000h - 0ABFFFh
Two 16k buffers at A800h 0A8000h - 0AFFFFh
Two 4k buffers at AC00h 0AC000h - 0ADFFFh
Two 8k buffers at AC00h 0AC000h - 0AFFFFh
Two 4k buffers at B000h 0B0000h - 0B1FFFh
Two 8k buffers at B000h 0B0000h - 0B3FFFh
Two 16k buffers at B000h 0B0000h - 0B7FFFh
Two 4k buffers at B400h 0B4000h - 0B5FFFh
Two 8k buffers at B400h 0B4000h - 0B7FFFh
Two 4k buffers at C000h 0C0000h - 0C1FFFh
Two 8k buffers at C000h 0C0000h - 0C3FFFh
Two 16k buffers at C000h 0C0000h - 0C7FFFh
Two 32k buffers at C000h 0C0000h - 0CFFFFh
Two 4k buffers at C400h 0C4000h - 0C5FFFh
Two 8k buffers at C400h 0C4000h - 0C7FFFh
Two 4k buffers at C800h 0C8000h - 0CCFFFh
Two 8k buffers at C800h 0C8000h - 0CBFFFh
Two 16k buffers at C800h 0C8000h - 0CFFFFh
Two 4k buffers at CC00h 0CC000h - 0CDFFFh
Two 8k buffers at CC00h 0CC000h - 0CFFFFh
Two 256k buffers at 10000h 0100000h - 017FFFFh
Two 256k buffers at 20000h 0200000h - 027FFFFh
Two 256k buffers at 30000h 0300000h - 037FFFFh
Two 256k buffers at 40000h 0400000h - 047FFFFh
Two 256k buffers at 50000h 0500000h - 057FFFFh
Two 256k buffers at 60000h 0600000h - 067FFFFh
Two 256k buffers at 70000h 0700000h - 077FFFFh
Two 256k buffers at 80000h 0800000h - 087FFFFh
Two 256k buffers at 90000h 0900000h - 097FFFFh
Two 256k buffers at A0000h 0A00000h - 0A7FFFFh
Two 256k buffers at B0000h 0B00000h - 0B7FFFFh
Two 256k buffers at C0000h 0C00000h - 0C7FFFFh
Two 256k buffers at D0000h 0D00000h - 0D7FFFFh
Two 256k buffers at E0000h 0E00000h - 0E7FFFFh
Two 512k buffers at 10000h 0100000h - 01FFFFFh
Two 512k buffers at 20000h 0200000h - 02FFFFFh
Two 512k buffers at 30000h 0300000h - 03FFFFFh
Two 512k buffers at 40000h 0400000h - 04FFFFFh
Two 512k buffers at 50000h 0500000h - 05FFFFFh
Two 512k buffers at 60000h 0600000h - 06FFFFFh
Two 512k buffers at 70000h 0700000h - 07FFFFFh
Two 512k buffers at 80000h 0800000h - 08FFFFFh
Two 512k buffers at 90000h 0900000h - 09FFFFFh
Two 512k buffers at A0000h 0A00000h - 0AFFFFFh
Two 512k buffers at B0000h 0B00000h - 0BFFFFFh
Two 512k buffers at C0000h 0C00000h - 0CFFFFFh
Two 512k buffers at D0000h 0D00000h - 0DFFFFFh
Two 512k buffers at E0000h 0E00000h - 0EFFFFFh
Two 1M buffers at 20000 (020000-03FFFF), 40000 (040000-05FFFF),
60000 (060000- 07FFFF), 80000 (080000-09FFFF), A0000 (A0000 -
0BFFFF), C0000 (0C0000-0DFFFF), D0000 0D0000-0EFFFF)
Two 2M buffers at 40000 (040000-07FFFF), 80000 (080000-0BFFFF)
Interrupt select
Iinterrupt line used by the Illuminator
<" disable interrupts">,
11, 12, 15
9595 Main Page
|