Mass storage: basic information

Everything you wanted to know but you were afraid to ask... Warning, this page contains some large pictures, it's over 500kB...

All images with green borders are thumbnails, click them to get bigger and better version.

MCbx, 2012


PART A: Tapes and streamers
1. Tape types
2. Metal? Oxide? AME?
3. Linear? Helical?
4. QIC?
5. Travan?
6. DAT/DDS?
7. DLT? LTO Ultrium?
8. Exabyte?

PART B: Magnetic
0. Floppy?
1. LS-120/LS-240/SuperDisk? And what's this all "Floptical" stuff?
2. ZIP? Click of death? Killer disk?
3. JAZ?
4. SyQuest, Castlewood ORB, EZ-135?

PART C: Magneto-optic
0. How it works?
1. 130mm and 3.5" magnetooptical media
2. Minidiscs?

PART D: Optical
1. CD-ROM and CD-RW
2. Colored Books?
3. DVD-RAM?
4. DVD?

PART E: Others
1. Sources, further reading


PART A: Magnetic tapes

A.1 - Magnetic tape types
There are many types of magnetic tapes for streamers. Tapes are enclosed in cartridges, and there are many types of cartridges. Some cartridges are different, but they use the same tape type. The tape itself is usually divided into categories according to their width, but it's not an only division - we can divide it by writing method (linear and helical, read further about it), by density in tracks, by density in FTPI and many other parameters.
Ah, FTPI means Flux Transitions Per Inch, it's more physical than computer density unit describing how many magnetic domain changes or inversions (if full inversions are counted, the unit is FRPI - Flux Reversals per Inch) can be stored in an inch of tape.
The usual division by width is as follows (some examples included):

  • 19mm (3/4 inch) - Old DECtape standard, LINCTape, QoMMT

  • 12.7mm (1/2 inch) - DLT, StorageTek T9 series, Ultrium, IBM 3480

  • 8mm - Travan, ADR, Exabyte (Helical)

  • 6.35mm (1/4 Inch) - QIC/SLR, Ditto, QIC mutations

  • 3.81mm (1/8 Inch) - Audio tapes, Teac CT-600, DDS/DAT (Helical)

  • 1.9mm - ZX Spectrum Microdrive

About division by density - After one company increased capacity of their QIC cartridges  from 3MB to 2GB, it's not that easy :). They did it by increasing length in cartridge (100 to 310m), increasing track density from 4 to 42 and increasing physical density from 1600 to 50800FTPI.

There are tape streamers, which, like floppy disk drives, can support one tape at time inserted by user. But there's another tape archiving solution called tape libraries. These are quite big devices which contain 1 or few streamers, special mechanism and a number of tapes (usually 5-25). After the device is instructed to do, tape in streamer is replaced by mechanism. These "tape changers" are expensive and usually used in server rooms.

There were some methods of non-standard tape archiving. 8-bit microcomputers used audio tapes to store programs. There was a device for Amiga, which allowed to use VHS tape recorder as streamer. For PC, the same device was invented and sold in early 1990s in Russia as Arwid. Arwid was able to put about 2GB of data in E180.

The tape itself is usually composed of few layers. For example, AME tape (read further about it) is composed of the following layers:
      - Lower protection lacquer (1)
      - PET polymer tape (2)
      - Flexible linking layer (3)
      - Magnetic layer (4)
      - Upper protection lacquer. (5)


A.2. Metal? Oxide? AME?

Now we're talking about the tape itself and its magnetic properties. Simplifying, there are two parameters of tape magnetization:
1. How "dense"? - how dense we can magnetise a bit without interferences from neighbour bits? This is defined by FTPI/FRPI
2. How "deep"? - if we magnetise the point, how strong will this magnetisation be?
Second question is important, as it affects head design, power consumption and media stability.
Look at the diagram on the left. It's a magnetic hysteresis of few tapes. The horizontal axis is the coercivity, making it simpler: magnetic field intensity required to make tape remember its state (vertical axis).

Here, 3 types are shown:
    - MP - Metal Particle tape
    - Oxide - Metal Oxide tape
    - AME - Advanced Metal Evaporate - with Cobaltum evaporated on tape.

So, MP tape's magnetic particles are about 5 times smaller than oxide tape's particles (in fact, early MP particles had 0.35um, todays are 0.09um and smaller), making it "denser" and giving magnetic density bigger - medium is more stable. On the other hand, more energy is needed to "flip the bit" there.
Here hysteresis comes. On the horizontal axis, there's magnetic field which we put with head. On vertical - magnetization. If the disk is currently not recorded, the introduced field is zero and domain can stay magnetized (in critical points where hysteresis crosses Y axis) or demagnetized (not shown here - very near 0,0 point). If we put a magnetic field strong enough, media will saturate, as in these sharp peak points in the hysteresis. But if we remove the field, only part of this magnetisation remains (sometimes called remanence) - to the point where hysteresis crosses Y axis. If you want to know more, see this article.
So, AME tapes need less magnetic field to better remember its state, as hysteresis is shorter but higher in its remanence points. Why? AME tapes are composed of Cobaltum evaporated into tape under vacuum. Particles here are small, but there's something more important: evaporation makes them sit on the tape in a regular "row" perpendicular to tape surface, nearly epitaxially.


A.3. Linear? Helical?

In early streamers data was recorded in a linear way, it means that there were linear tracks, as in audio tape. There were more tracks of course. Usually, tracks on the edges of tape were not used for data, as they were risky. See the picture - it's an early design of LTO standard tape, today there are 4 or more, not 2 groups. Two tracks on the edges are not used to avoid data corruption on these. On both sides of each group, there are 2 factory-recorded servo tracks, keeping the head in place as the tape wanders vertically while moving. After the tape is wound recording Group 0, the head is going down to group 1 and it's recorder while tape runs backwards (see the arrows indicating group recording direction).

 

But how to pack even more data to it? We can use helical writing method. It was used in VHS recorders years before streamers. It was not adopted in computer world, as it required more moving parts and durable tape, which can stand friction, twisting, bending or pulling.

 

 

Helical scan uses rotating head drum. The drum is skewed by a small degree (5 degrees in Exabyte units). The tape touches the drum, and rotating head is reading/writing data in diagonal lines. See the lowest image, drum skew is a bit exaggerated, but you should understand what's going there. The dark line is tape, lightgray lines are tracks read by head (black block on the drum).
In applications, tape is moving relatively slow (~8mm/s) but the drum is rotating very fast. This allows to gracefully stop the tape if data is not supplied instead of moving it backwards and forwards to find the moment when writing stopped.
Helical method is used in DDS or Exabyte streamers. It allows to put more data on smaller tape, but it has some disadvantages:
 - Head drum rotating 6000rpm is rubbing tape. It's not good for it.
 - Tape is small, easy to break and there are always some errors, corrected usually by ECC mechanisms. If they're not, you have a problem.
 - More moving parts - easier to break.

Because the drum friction is quite big, early DDS/DAT tapes were certified for 20-30 passes, not more. They were cheaper, but with this stability they weren't good for, for example, everyday server room backup.


 



A.4. QIC?

QIC, a Quarter-Inch Cartridge, is one of the first cartridge tape standards. It was introduced in 1972 by 3M. The cartridge is quite rugged, so it may be used in industrial applications. It's build around quite big alluminium plate and has tape access spring door. The characteristic thing inside cartridge is a belt which connects both reels and capstan wheel. The tape is not attached to reels, so it's not totally rewound - there are holes in ends of tape, which are detected by streamer's optical detector. See the second image to get it. Because the only force which moves tape is belt's friction, these tapes are very sensitive to problems with tape winding inconsistency. If there are, tape needs a full, non-interrupted forward-rewind pass, called Retension and usually available in advanced backup software.
There are many QIC-type cartridges, from large traditional QIC tapes like QIC-24 or DC-600, through QIC-80 mini cartridges, ending with Travan, an attempt to increase QIC capacity by using QIC-like cartridge with 8mm tape. Another cartridge standard called QIC-EX used rectangular cartridges which had size a litle bigger than QIC-24, but tape access door and capstan wheel were located on the shorter side, making it easier to handle in smaller streamers and giving possibility to put longer tape inside.

But how to transfer force between streamer's and cartridge's capstan wheel without damaging tape? Use the edge of the wheel. See below:

More mechanical drawings in the lowest picture on the right.

An early QIC streamer  head looks like this:

Where: R - reading head, W - writing head, E - combined erasing head, CH0 - Channel 0, CH1 - Channel 1
The tape is recorded in one direction in Channel 0, right before both tracks are erased, then tape moves backwards and Channel 1 is recorded with no erasing. Next, the head is repositioned to another tracks pair and the procedure is repeated.
To increase capacity Tandberg Data introduced SLR technology which used servo tracks. This technology allows to store up to 75GB of data on a special QIC tape.

 

Now about tracks: First, There were 4-track (20MB) and 9-track (60MB - known as DC-600) tapes. 4-track tapes may be read on a 9-track streamer, but 4-track tapes written in 9-track unit won't be easily readable back in 4-track streamer.
As the tapes were better, tracks density increased: 125MB QIC-120 has 15 tracks, while 150MB QIC-150 has 18. QIC-80 tape usually has 28 to 36 tracks.
Last Travan tapes have 36 (TR-1) to 108 (TR-5) tracks. In detail: TR4 - 72, TR-2 and TR3 - 50.

How much can I put on QIC tape?
Remember that tape length may be different, so these values aren't only proper ones. Many types have different dimensions too, so they're not compatible!.

QIC-11  - 20MB
QIC-40 - 40MB
QIC-24 - 60MB on 600FT, 45MB on 450ft
QIC-80 - 80MB (some larger models exist, up to 500MB!)
QIC-120 - 125MB
QIC-150 - 150MB
QIC-3010 - 340MB
QIC-524 - 520MB
QIC-3020 - 670MB
QIC-3080 - 1200 - 1500MB
QIC-3095 - 4000MB
Tandberg uses SLR tapes, some of them have factory-recorded servo tracks, which have bigger capacity

SLR-1 - 250MB
SLR-2 - 525MB
SLR-3 - 1GB
SLR-4 - 2.5GB
SLR-5 - 4GB
SLR-6 - 12GB (also known as SLR24)
MLR-1 - 16GB (also known as SLR32)
MLR-3 - 20GB (also known as SLR50)

More about QIC standards can be found on its page: http://www.qic.org/html/qicstan.html or http://www.qic.org/html/qicmatr.html


A.5. Travan?

Travan cartridges are mechanically QIC, with its aluminium plate, capstan friction wheels and access doors, but they contain 8mm tape. It makes Travans not compatible with typical QIC streamers, but allows to increase track number and put more data linear way. However, there are some streamers which can use both QIC and Travan tapes. First Travan cartridge appeared in 1995, it was called TR-1 and could keep 400MB of data on 750ft 36-track tape.
TR-2 was never marketed widely, it was 50-track tape containing 800MB. Later in 1995, Travan TR-3 appeared, which could store 1.6GB on 50-track tape.
In 1997, another Travan standard came out. TR-4 could store 4GB of data on 740ft 72-track tape. There was a variation for HP Colorado streamer with  460ft tape, which stored 2.5GB of data.
TR-5, released in 1998, could store 10GB of data on 108-track, 740ft Metal Particle tape.
Next standard, TR-7, introduced in 2002, could put 20GB of data, but was not compatible with others.
The writing pass of Travan does not contain verify step, which has to be done separately.

There are many streamers which support Travan tapes. IOMega Ditto 800 can read, write and format Travan TR-1. Ditto 3200 and Ditto 2GB can read/write TR-3, but TR-1 and TR-2 can be only read by these streamers. Exabyte Eagle TR-3 can use both QIC or QIC-EX (special 8mm QIC cartridge) as well as TR-2 or TR-3 cartridges.

You can see a flyer from 2002 from Imation, which contains some info about Travan. Notice, that they're giving capacities assuming 2:1 compression, and I'm giving the actual capacities.


A.6. DAT/DDS?

DDS (Digital Data Storage) is a technology which allows to store computer data on DAT (Digital Audio Tape) media. It uses helical scanning, as you can see the drum in the picture. The cassette itself is quite simple, 2 reels which can be turned by streamer, 2 rollers to keep tape in place and the spring door, mechanically similar to one in VHS tapes. These cartridges are more delicate than QIC or Travan and, because the drum spins very fast and friction is high, they have a short lifespan. First cartridges guaranted 10-20 cycles without errors.

Older DAT cartridges use 3.8mm tape. Newer DAT-160 and DAT-320 are wider, they're 8mm wide making it incompatible with older streamers.

Compatibility depends on streamer used. For example compatibility table for HP SureStore and StorageWorks can be read on its support page.

Below, you can see all DDS tapes specification from 1989 to 2011.

MRS is a system, implemented from 1993 in all DDS cartridges, which allows streamer to detect type of tape used. It uses optical black stripes in transparent leading part of tape to identify type.
Many streamers are factory-programmed to treat non-MRS tape as read only.

Name Logo Date Capacity Length
DDS-1 1989 1.3GB/2GB 60/90m
DDS-1 MRS 1992 2GB 90m
DDS-2 1993 4GB 120m
DDS-3 1996 12GB 125m
DDS-4 1999 20GB 150m
DAT-72 2003 36GB 170m
DAT-160 (8mm!) 2007 80GB 154m
DAT-320 (8mm!) 2009 160GB 154m

A.7. DLT?

DLT tapes are NOT LTO! Ultrium are LTO!

DLT (Digital Linear Tape) is a standard developed by DEC in 1984. Characteristical thing was the cartridge which holded only 1 reel of tape. Second reel, called take-up reel, is permanent in streamer. After the cartridge is inserted and the handle closed, cartridge door is opened and link mechanism inserts a tooth to hole in the end of tape. Then the tape is linked to a dummy piece of tape connected to take-up reel and pulled into mechanism.
Why so many rollers? More - Why some rollers are held on servos? The tape is a half-inch wide. Rollers are aligned to minimize head tension and friction.

Because tracks were packed denser and denser, manufacturers released SDLT streamers. These are DLT, but have Head Guide Assembly (see the picture). This optical assembly reads lines from the back of the tape to align it on head in line. This allows even 768 tracks in a single tape!

There were tries to use magnetic "depth" to make tracks more dense. DLT7000 and 8000 tilt the head back and forward to do it.

All DLT streamers are equipped with hardware Lempel-Ziv compression codec.

Usually new streamers support few DLT types. Many of them have LEDs indicating type of tape used. 

Below are some types of DLT tapes:

Name Year Capacity Example Streamer types
CompacTape I 1984 100MB DEC TK50, TK70 (read-only), TZ30
CompacTape II 1987 300MB DEC TK70
DLTape III 1989-1993 2.6GB-10GB DLT260/600, DLT2000/2000XT/4000/7000
DLTape IIIXT 1995 15GB DLT2000XT/4000/7000/8000
DLTape IV 1994-1999 20-40GB DLT4000/7000/8000, DLT1/DLT-VS80, SDLT220/320 (read-only)
SDLT I 1998-2002 110GB, 160GB SDLT220/320, SDLT600 (read-only), DLT-S4 (read-only)
SDLT II 2004-2005 300GB SDLT600, DLT-S4 (read-only)
VS1 2003-2005 80-160GB VS160, DLT-V4, SDLT600 (read-only)
S4 2006-2007 800GB DLT-S4

If you want to know more, you can download Quantum's DLT Tape Handbook.

LTO Ultrium is a standard which was made as a concurrent to DLT - introduced in 2000 it used similar linear-writing technology using single reel cartridges containing 600-900m of MP (Metal Particle) tape. The first tapes allowed to store 100GB of data, it was doubled with LTO-2 in 2003 and reached 400GB in 2005 (LTO-3). Later tapes could store even a terabyte of data (LTO-5, 2010, 1.5TB). As a new technology for professional purposes, later revisions had RF-readable chips built-in to help with tape identification in archives or automated changers.
While analyzing earlier DLT standard you can see that it uses the alignment in which tape's "active" side never touches anything except head during transfer. LTO is different, here tape must be precisely driven as head has 8, 16 or 32 smaller one-track heads and the tracks are written in linear "bands".


DLT (left) and LTO Ultrium (right)

In DLT, the tape was pulled from the cartridge with a small hook. Here, a small catching part links with the pin on tape's end and is transported into the hub of the streamer's reel. The pin is slightly larger making the tape pass savely over head during alignment.

Generally, the cartridge is not compatible with anything except LTO devices. The rules of compatibility from standards are:
- The device can read data on own generation's cartridge and cartridges 2 generations earlier
- The device can write its own generation's cartridge and cartridge one generation earlier in its digital format.
- The device cannot use any newer generation cartridge.
 


A.8. Exabyte?

Exabyte is known from its 8mm Backup Data Format called Data8 or just D8. In late 1980s Exabyte tried to use 8mm video tape format, popular in handheld cameras as data backup format. They offered one of the first helical scan streamers, which were complex modular devices, sometimes with hardware compression. First 8mm tape drive was released in 1987.
First devices used Video 8mm tapes, but they had to be MP (Metal Partice) tapes to maintain quality. In later models, they introduced AME tapes or AME with SmartClean - which was in fact winding 2m of cleaning tape into the cartridge as tape header.

Notice that Exabyte Mammoth not used any driving pinch rollers.

The first unit released in 1987, Exabyte 8200, was sold in 2 versions: 8200SX had better mechanical part and allowed faster searching.
In 1990 Exabyte released EXB-8500, visually similar to 8200. It was released in 2 models too, 8500c supported hardware compression.
There was EXB-8205 on the market, which was half-height EXB-8200. Later they added EXB-8205XL which supported longer tape cartridges.
In 1992 EXB-8500 became re-designed and released as EXB-8505, which was a half-height device - size of today's 5.25" CD-ROM drive instead of two of them one on another.
In 1994, EXB-8505XL added support for 160m MP cartridges as half-height device.
1995 - EXB-8700, it was an external table-top device with capability of loading tapes from the top of device, not front panel.
In 1998, the last EXB, EXB-8705 or Eliant 820 was in fact 8700 in normal 5.25" internal-mount casing.

Later units, Mammoth series, used AME tape and could only read MP tapes. These were:
1996-1999 EXB-8900 Mammoth, as the high-end archiving solution, with 3MB/s speed and LCD displaying status, could put 20GB on AME 170m tape
1999 - Mammoth LT was cost-reduced 8900. It has no LCD and could support maximum 14GB tapes (125m).
Late 1999 - Mammoth 2 streamer used AME tape with SmartClean - 2m of cleaning tape installed in cartridge as tape header. It was faster (12MB/s) and supported hardware ALDC compression. Up to 60GB could be put on 225m AME tape.

Summing up, here's the table:

Streamer

MP

AME

AME/SmartClean

15m 54m 112m 160m 22m 45m 125m 170m 75m 150m 225m
EXB-8200 300MB 1.1GB 2.4GB                
EXB-8205 300MB 1.1GB 2.4GB                
EXB-8205XL 300MB 1.1GB 2.4GB 3.5GB              
EXB-8500 600MB 2.4GB 5GB                
EXB-8505 600MB 2.4GB 5GB                
EXB-8505XL 600MB 2.4GB 5GB 7GB              
EXB-8700 600MB 2.4GB 5GB 7GB              
EXB-8705 (Eliant 820) 600MB 2.4GB 5GB 7GB              
Mammoth (EXB-8900) Read Read Read Read 2.5GB 5GB 14GB 20GB      
Mammoth LT Read Read Read Read 2.5GB 5GB 14GB        
Mammoth 2         6GB 12GB 33GB 45GB 20GB 40GB 60GB

Sources: Manuals from tandbergdata.com. All sizes are NOT COMPRESSED. Not sure will EXB-82xx read 85xx.
Notice that manufacturer not recommends reading MP tapes in Mammoths on a regular basis, and warns to never try to write to them in Mammoths as it may damage head!


PART B: Magnetic disc media

B.0. Floppy disk?

Let's begin from something we all know, I think - floppy disks. These disks have long history, starting in 1960s. Until 1970s 8-inch disks gained popularity. 8" disks were used even in 1980s, for example in early Meritum computers.
In 1976, a 5.25" format was released by Shugart Associates, as more practical than 8". It was well adopted and gained high popularity during 1980s and early 1990s.
In 1980s there were many inventions of floppy disk formats. 5.25" format was extended and modified, sometimes transformed into proprietary format (Apple Lisa's Twiggy disks). Last 5.25" disks could store up to 1.2MB of data.
Portable computers or microcomputers were equipped with a few standards: The most popular in Amstrads used 3" disks. Portable units used 2" or 2.5" disks, which were not popular and there were problems with getting them.
The most popular was conventional 3.5" floppy, which size was 360kB first, later becoming 720kB Double-Density format using MP media (see Streamer FAQ). The most popular format extends density to 1440kB (using AME-like media), yet there were modifications (called DMF) which could put up to 1.68-1.72MB on this disk or XDF, an extended IBM's OS/2 format allowing to use 1880kB on disk, but it was done by high cost - only one file could be stored on XDF without advanced file-table modification. More, XDF disks were readable only by OS/2, and could be written only using IBM's Loaddskf utility.
In Japan there was a "3-mode floppy", or "Floppy3", a 3.5" floppy drive which could read 720K, 1.44MB and a special 1.2MB format.
Last try to put more data on conventional 3.5" floppy was ED, a custom Extended density floppy drive which could store 2.88MB of data on a special, Barium-ferrite disk.

Note that first drives used only one head allowing to write on one floppy side. Some floppies (for example 5.25" with second protecting hole cut out) could be flipped to use second side.
There are many drive types using different modulations and geometry formats. Some are, and some are not compatible despite of using the same media.

If you're recovering old data, you should know something important. Let's see how the disk is made (Image: Wikimedia commons):

5.25" disks are built similar way. Inside, there's a magnetic disk with metal hub, but there's something more important if you're recovering old disks. You see this white surface between casing and disc? It's a special cloth which minimizes friction, it's present in 5.25" disks too. Now, if an old disk is stored in high humidity environment, a nasty fungus may infect this cloth. When disk spins, this fungus is taken by magnetic disk and covers the head until it can't take more - then "infected" head starts to engrave a ring in disc! More, every diskette you'll put to the "infected" drive will become "infected" too in a few moments of spinning and destroyed by engraving a ring! To "disinfect" floppy disk drive, you have to remove its cover and manually clean heads with cleaning sticks dipped in denaturated alcohol. You can press the lower head a bit, but keep upper head pressed down with finger to avoid bending it. Not too hard, or you'll misalign them.

If floppy drive can read only disks it formatted, heads are misaligned. Head re-aligning is a simple, yet time-consuming procedure. You have to move heads to be as parallel as possible (loosen the screws, move a little bit, then fasten it), then try to read last sectors (for example using Norton Disk Editor) from good-formatted disk. After few hours of trying you may make the drive read a whole disk, then fasten screws better.
Another method is to fill the disc completely with 1 file on known-good drive and try to copy this file in MS-DOS with calibrated floppy. After "Sector not found"/"read error", heads are moved.


Terminal with floppy disk support, 1970s.


Maxell's 2.5" disk - ca. 1989


1990 - Device for printing directly from floppy


1993 - "Silicon floppy" allowing to digitally store data using floppy drive. Today it's officially impossible to do it, so you can't use old floppy-equipped hardware, only buy new one.


B.1. LS-120? LS-240? Superdisk? Floptical?

But how to put even more data on flexible magnetic disk? We can increase media density, but head unit in floppy drive is quite robust, with stepper motor and mechanical transmission. This won't give us enough precision to seek dense tracks.
In 1991, Floptical technology was introduced. Floptical disks are different than 3.5" disks. They're magnetic disks, but use advanced voice coil mechanism to drive head to track. This mechanism is driven by optically reading factory-recorded markings on lower side of disk. See the middle picture.
Second improvement was to add more sectors as the tracks are farer from the center and linearly longer.  This allowed sectors to be ~ the same length and to add more sectors the longer the track is. See the lowest image for detail.

First, infrared LED was used, and when density increased, engineers introduced laser servomechanism. One of the most popular Floptical units are Imation Superdisk or LS-120 (LS stands for Laser Servo). Later, LS-120 was upgraded with better servo to LS-240, which could store 240MB on a Floptical disk.

All these drives had capability to read 3.5" normal disks.
More, LS-240 could format normal 3.5" floppy disk using voice-coil servo, giving 32MB of space. Unfortunately there were 2 problems with these disks:
1. There was no reliability that the floppy will be readable on another LS-240 drive,
2. Because there were no laser markings, the floppy had to be recorded whole at once, like CD disc. It was made not to loose alignment after head seeking without laser servo.

LS-120 drives were used in some Macintosh computers, but there were problems with reading original Macintosh disks, especially older floppies. They were used for testing purposes in servers, as they could easily store enough data to test for example new operating system's capabilities and were quite fast (USB or SCSI units).

One of the last tries to sell Floptical was in 1998 with a 144MB device called Caleb UHD144, but it was not successful as ZIP drives were popular and CD-RWs gained popularity.
 


B.2. ZIP disks?

Let's increase rotating speed of flexible disc. If we spin it fast enough, heads will float over disc as the air flow around it will be high. ZIP disks were magnetic disks with voice coil driven heads floating near the disk like in a hard drive - with air moving effect. This gave ZIP the same size as 1.44MB disk but with higher capacity and speed. ZIP disks were more rugged than normal to avoid any mechanical defect of disc - it could lead to head problems.

In fact, there were 3 types of ZIP Media, usually backwards-compatible except 750MB drive which could only read 100MB disks.
     - ZIP 100MB - the earliest drive from 1994
     - ZIP 250MB - More capacity, slower suport for 100MB disks
     - ZIP 750MB - quite rare unit, introduced USB 2.0 and dropped serial port/SCSI support.

Interfaces were as follows:
    - Parallel port (100MB and 250MB external units) - slowest possible. Could be connected even to Amiga (with mods).
    - SCSI (100, 250, internal and external) - sometimes with dedicated PCI board
    - Plus (100, 250, external) - with connector allowing to plug to SCSI or parallel port.
    - IDE (100MB internal) - earliest OEM models, had troubles with drivers.
    - IDE ATAPI (100MB, 250MB, 750MB, internal) - connected to the same cable, but with different instructions set.
    - FireWire (250MB, 750MB, external)
    - USB 1.1 (100 and 250 external), USB 2.0 (750 external).

What is the "Click of death"?
Let's see what is recorded on ZIP disk as it comes in a box:
1. Space for user data
2. Servo tracks - factory-recorded tracks telling R/W head where it actually is
3. Four redundant Z-tracks, similar to HDD's adaptive modules they store information characteristical to current ZIP disk. These informations are mainly media defect list. Z-tracks are logically not-writable - drive doesn't know how to write Z-track, yet electronically it's possible.

Now let's see what's inside ZIP servo and what happens when temporary technical problems come:

See the picture: When the disk is inserted, sliding arm slides cover and makes head ready to go in. Head arm is moved by servo coil from one side and it's secured by servo rod from aonther side. It moves along this rod with 2 bearings. Another thing which moves head is Auto-retract spring mechanism - it removes heads from disk if power is lost (or disk is some way seriously damaged and is going to stop), avoiding head crash. But if heads are violently removed from disk by spring mechanism, these bearings hit the rear of drive knocking heads out of alignment. Of course it could be avoided by glueing a piece of vibration absorbing foam to the rear, where bearings hit it, but it was too expensive to sell ZIPs cheaply.
As these heads go out of alignment, the drive may even write to servo or Z-tracks, damaging disk. There clicking comes - as sector can't be read, because is bad, Z-data or servo tracks are damaged, heads are moved out from disk, re-callibrated and moved in again... and again... that's the source of clicks.
Summing up, because of poor quality and bad savings IOMega made their drives prone to head misalign, which is source of clicks. As the clicks go, heads are knocked out more and more, causing more clicks, bigger misalignment and finally loss of disk (writing to servo or Z-tracks).
IOMega had a problem with it and finally they had to admit the users were right and clicks are their fault. Finally, they decided to replace all defective ZIP drives, regardless of warranty period.
You can diagnose and try to repair partially damaged disks with TIP software. This software performs extended surface test on ZIP disk. Repair it only with known good drive! Download TIP and read more about it HERE, loader which runs TIP after 2010 is HERE. Because IOCheaters stated one and are doing another thing (today it's impossible to replace even recently opened drive, at least in my country) you probably won't get your ZIP repaired. Instructions are: Here for external model.
If you have problems with inserting cartridge, check white "whiskers" of head and make tem straight as described here. It's easy to bend them by accidentially putting 3,5" disk into ZIP drive or using bad disks. More ZIP drive heads horror stories with photos here. One more website devoted to this problem is archived at reocities. And another description how to open ZIP drive here.

More? Killer disk?
Something worse than click of death. ZIP disk spins at 3000 rpm. In very rare cases when ZIP disk is loaded (sometimes to drive with mechanical impact damages), heads are put not around flexible disc, but both UNDER or OVER it. And motor starts to spin it.
Now it's a disaster: One or both heads are ripped off the arm destroying the edge of disc. Because the disc is elastic, it is ripped too, literally chewing a gap in its edge. Drive logic tries to do unload-reload head cycle ("click") retracting it and putting it one more time... making another hole in disk edge. THIS DISK IS NOT RECOVERABLE AT ALL.

THIS DISK WILL IRRECOVERABLY DAMAGE ALL DRIVES IT'S INSERTED TO!
DO NOT PUT IT IN ANY DRIVE!

To avoid decapitation of your drive's heads, always inspect newly acquired media before inserting to drive. Do this by sliding door, looking inside and carefully checking the edge. Slowly rotate the media by one full turn pressing and rotating the silver hub (do not touch the disc itself!). If you see any cuts, irregular edges or wrinkles, disk is damaged, don't put it into drive.


B.3. JAZ disks?

But how to put even more data than in ZIP? When ZIPs became popular, the only way to store more data was to use removable hard disks. Hard disks were expensive and racks making it portable were incompatible with each other. But there was another idea - use replacable platters, but keep spindle motor, head assembly and electronics installed in a drive. The idea of removable spindles comes from mainframe age, but PC drives needed special conditions for hard drive platters.
JAZ drives used a cartridge with 2 platters which were connected mechanically to spindle motor inside drive. The cartridge has doors through which heads come into.

There were 3 interfaces of JAZ drives. Most of JAZ drives are SCSI, internal or external, but there were some early IDE drives and parallel port, which was in fact SCSI device connected using Jaz Traveller interface.
Capacity was 1GB first, in 1998 the capacity was increased to 2GB with 2GB drive. There were some early units which supported 500MB disks, but probably never left experimental stage.
There were many problems with JAZ drives and disks. Spindle mechanism was complex, noisy and prone to platters' inertia. Loading mechanism was complex, as it required to slide the door not on the cartridge, but out of the cartridge. This led to disks stuck in drives, which, if removed, destroyed both media and drive. Spindle motor mechanism was a failure, with bearings which wear out after few weeks of usage or platters moved out of alignment by slow rotating indepentently of the hub.

Early JAZ-like impleentation with one platter (JAS has 2) - US Patent 7123446

JAZ disks and drives were expensive and never gained popularity. They were too expensive for home user and too small for backup usage.


B.4. SyQuest, ORB, SyQuest EZ disks?

These are all disks like JAZ - hard disk with replacable platter cartridge. SyQuest disks were popular in early 90s in DTP for transferring large projects from designer's to printing computer. SyQuests were SCSI devices offering 44, 88 or 200MB capacity per cartridge.

First units could use 44 and 88MB cartridges. SyQuest EZ-135 could use 135MB cartridge. In 1998 SyQuest released ezFlyer which was compatible with EZ-135 but could use 230MB cartridges. Finally it was as follows (this information is quite incomplete):
SQ555 drive - 44MB
SQ5110 drive - 44MB and 88MB
EZ135 - 135MB, not compatible with earlier units
EZFlyer - 230MB
SQ3105 drive - 105MB - low-cost version
SQ3270 drive - 270MB
SQ5200 drive - 200MB
SyJet - ~1500MB
SparQ - ~1020MB.
Quest - ~4.7GB
Here  or here are some manuals for SyQuest archived.

Similar drive with ~3.5" media was manufactured by Castlewood as ORB, in 1998 it was one of the biggest removable storage with 2.2GB disks, unfortunately very sensitive to mechanical and temperature shocks. Last model was released in 2001 and could fit 5.7GB on a single disk. There were IDE, Parallel, SCSI, FireWire and USB versions of Orb, internal (IDE and SCSI) or external.
Castlewood was founded by SyQuest's former employees and in 2000 there was a lawsuit against it.
See this archived page for Orb specification.

P.S. If you have Orb and no drivers for PC: Wayback Machine has it

Archived Castlewood website: here


SyQuest EZFlyer 230 (syqt.com)




Castlewood ORB 2.2GB (castlewood.com)


PART C: Magneto-optical disks and drives

C.0 - How it works? What's this Kerr effect?

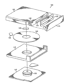
Magnetooptic drives, called MO drives, are using magnetic and optic properties of materials to store information. The disc itself is made with polycarbonate, but in early MO media they were made of ceramic or glass-like materials. On this disc there's a recording magnetic layer, for example ferrum-cobaltum layer. Next, the disc is covered in protective layers, giving thermal, mechanical and electrostatic insulation. One of the layers is usually mirrorized. See first picture.

If we want to write to disc, we must heat (using laser) the recording surface (or the place where we want to write) to temperature higher than Curie temperature of the material used. Above this temperature (usually ~200 degres Celsius) the layer goes phase transformation (to amorphic non-reflective state) and becomes paramagnetic - is much, much easier to magnetize it with low power. After head writes information the temperature naturally cools down and information is stored. Recording process is shown in the second picture. Notice temeprature-time curve with few writes, as the temperarture goes higher to amorphic state, in these "spikes" magnetic head records data.

How to read this information back?
There is our Kerr effect. We use low-power laser to light at the disc. Beam deflects of the mirrored surface and goes back, but that's not the same beam! When it crosses magnetized layer, it becames polarized. As it goes through written and erased places, it's polarization axis becomes slightly different, and it can be distinguished by drive's sensors. Look at the first half of third picture.

The diagram on the other half shows how the laser power is used in writing, erasing or reading. While reading, the laser lights steadily as in CD-ROM drive. Erasing heats the disc to demagnetize it. Writing heats it to be fully magnetized

This technology made MO drives and discs slow, but more reliable than early CD-R discs.

But how to make it bigger and faster? Let's build something into media, for example magnetic head. This is a LIMDOW media technology from 1997. In LIMDOW writing, as layer is heated up it takes charge from the magnetic layer behind it. There's another parallel layer, magnetized opposite way to take charge from as it's heated less. It allows to put data more densely than in traditional MO with magnetic head.

Another technology came in 2000 - called DWDD. It uses modulated magnetic field to increase density by detecting "walls" between 2 opposite-magnetized domains. This technology can put even more data to a disk, but today (2012) it's quite scientific method, not implemented in many products.

But there's another technology called Phase Change technology: Using fast-crystallizing material and only laser to cause changes in phase of media. This allows to use only laser, not laser and magnetic head, while keeping most MO advantages. Laser marks amorphous "dots" in media writing information. During read-out procedure Kerr effect is not used, but only reflectivity change - like in CD-ROM. Picture on the right shows it. Like a CD? Yes, but much better - reading of recorded media is exactly the same as pre-fabricated one. With Phase change media it's possible to store even 30GB on a standard 5.25" Magnetooptical-like cartridge. 

 

 


(From: T.Ohta et al - "Optical recording; Phase Change and magneto-optical recording")


C.1 - 130mm and 90mm (3.5") MO media

There were two MO disk formats commonly used. First was 130mm, better known as 5.25" (early drive can be seen in picture), second was 3.5" (90mm) format, which looks like a bit thicker floppy. In detail, MO disks look like CDs put in caddys. Contrary to CDs, MO disks must stay inside this caddy all times, and they're not removable.
According to standards, there are the following 5.25" optical drive sizes (first column shows generations - means that if drive can supports one disk type, it'll probably support a whole generation). Many drives are back-compatible with older generations:
  Capacity Sony Verbatim
  594MB EDM600 / CWO600 (Write Once) VBR5B2 / 87895 / 89178 (WO)
650MB EDM650 / CWO650 (Write Once) VBR5B4 / 87896 / 89179 (WO)
  1309MB EDM1300/CWO1300 (Write Once) VBR5E4 / 89109 / 89177 (WO)
1193MB EDM1200/CWO1200 (Write Once) VBR5E2 / 89108 / 89176 (WO)
  2636MB EDM2600/DOW2600 (LIMDOW) / CWO2600 (WO) 91204 / 91412 (WO)
2319MB EDM2300/DOW2300 (LIMDOW) / CWO2300 (WO) 91203 / 91411 (WO)
  4130MB EDM4100/CWO4100 (Write Once) 92841 / 92845 (WO)
4836MB EDM4800/CWO4800 (Write Once) 92842 / 92846 (WO)
5233MB EDM5200/CWO5200 (Write Once) 92843 / 92847 (WO)
  8627MB EDM8600/CWO8600 (Write Once)  
9165MB EDM9100/CWO9100 (Write Once) 94123 / 94124 (WO)
?? EM59100 ??
?? EM19100 ??

A better table with more manufacturers can be downloaded in this PDF.
For 3.5" MO disks, the table is as follows (Capacity is after formatting):

Capacity Sony Notes
2177MB EDMG23 For GigaMO drives
1241MB EDMG13
EDMG13CD (PC formatted)
EDMG13CM (Mac formatted)
For GigaMO drives
228.5MB EDM230C (PC-formatted) EDM230CM (Mac-formatted)  
636MB EDM640CM (Mac formatted)
EDM640C (PC formatted)
 
533MB EDM540C (PC formatted)
EDM540CM (Mac formatted)
 

C.2 - Minidiscs

Minidiscs are small magneto-optical media designed by Sony to store music. First (1992), it contained 74 or 80 minutes of music coded with ATRAC lossy codec. Later it added PCM coding to compete with CD-R quality. In fact it was popular only in Japan. In mid-90s CDs gained popularity and minidiscs lost nearly all interest.
There's a strange fact about CDs which comes to the light as Minidisc history is discovered. Sony had its part in designing CD-R standard too. According to these standards, CDs had to be readable after decades from recording. Because sticking to this standard required precise machinery and expensive chemical components, Sony assumed that prices of CDs won't drop fast, making Minidiscs popular. But Sony was wrong: Manufacturers started to make cheaper discs using cheaper chemicals and less precise machinery. These discs usually won't survive a decade, but they were chepaer ruining Minidisc popularity.
So if you read on CD/DVD label that they can store for more than 10 years, it's a lie. They won't. They're made using the same cheap chemicals and machinery. Today (2012), CD/DVD discs will last usually 1-3 years. OK, maybe it'll last 15 years, but only if you keep it in a vacuum, with absolutely no radiation any kind (light, Xray, cosmic ray etc).
In 1993 Sony released MD-Data, data storage format loosely compatible with Minidisc. It could put 650MB on single MD-Data Minidisc, but drives couldn't write audio Minidiscs, only special media, more expensive than audio discs. In 2004, Sony made their last try to sell MD-Data with 1GB Hi-MD media. It gained little popularity in some computerized metallurgical X-ray machines. It could format a standard 80-minute audio Minidisc to 305MB and was fully compatible with earlier standards.


PART D. Optical media

D.1 - CD-ROM and CD-RW

CD (Compact Disc), CD-ROM (read only computer memory compact disc), and later CD-R (recordable once) or CD-RW (recordable many times), were products of evolution of optical media. One of the first optical data storage device which gained popularity was LaserDisc, a plastic-aluminium disc, 30cm in diameter, which allowed to store analog audio and video using pit-land technology. The idea with optical media is very, very old - discs were patented in 1958 and 1960, but in mid-1960s Polish scientist Romuald Marczyński did some theoretical deliberations about using optical multitrack tape to store more data (well, these capacities were quite unimaginable even for todays storage sizes). Analog LaserDiscs entered market in late 1970s, the same time as more expensive digital Compact Discs. Both of these discs were made to store multimedia (audio or video), not computer data.
The first CD with audio was pressed in 1981 in Langenhagen near Hannover in Germany. It contained "An Alpine Symphony" written by R. Strauss and was made for testing Philips technologies. In 1982 the facility was ready to produce CDs on the mass. In 1983 first consumer-grade CD players hit the market. CDs became CD-ROMs (standard modified to store computer data) in 1985.

Later, in 1990, Sony and Philips introduced CD-R, a recordable CD. It allowed user to record data once and read the disc many times. Let's see an early version of CD-R, which never left the lab. The disc is built around plastic substrate, under which is a layer of resin and mirror behind it. As the disc is recorded, the high-power laser literally burns the resin out making a small hole, which deflects light different way while reading. This idea never left the lab (as we don't have 12-14" CDs), and today only chemical structure of layer is changed. But term "to burn a CD" survived :).

As you see, the digital data is stored in series of "pits" and "lands". Pits are little "depressions" made in layer. These depressions reflect light different than normal surface, making drive distinguish 0 and 1.

Back to the discs, CD-R discs are using photosensitive layer with empty "groove" added. This layer changes color when exposed to recording laser, allowing reader to read CD as it's a normal pressed CD. Unfortunately, as it's read many times it may fail because layer may get closer and closer to "recorded" color.

CD-RW, a rewritable CD, uses metallized layer with dielectric instead of normal recording layer. Before CD-RWs there was a CD-MO, a CD with magnetooptical technology, but it was never released. CD-RW is in fact similar to it. It uses silver, stibium, indium and tellurium alloy, which is reflective. As recording laser hits the point, it heats it to 500-700 degrees Celsius. There it melts and loses its reflectivity. It's read as lands, not pits.

How to erase the disc? We have to make it back reflective. We can do it by heating the point to ~200 degrees Celsius. That's how it works.


Note: Thickness is NOT TO SCALE!

CDs have different capacity. First CD-R discs had 512MB, as the rest was used with (compatible or not) error correction. The standard for typical 120mm CD was 650 or 700MB of data, but the disc itself had more, as it was used to store error recovery information. There are 800 or even 870MB discs, but cheapest of these just use recovery space for user data. For optical media it's not a good thing and it leads to read errors a few reads after writing.
In fact, every disc has quite different capacity, and there's an overburning function which may exceed the capacity to the end of pre-recorded blank track.
There are of course smaller CDs, such as Mini-CDs (8cm in diameter) which can hold up to 210MB or "business card" CDs, holding 10-65MB.

Early CD-ROM drives couldn't spin discs proper way as they were lacking stabilization. To deal with this problem CDs were placed in replacable enclosures before they could be inserted to drive. These enclosures were known as Caddy enclosures, and allowed to store frequently used CDs in dust-free environment. They're similar to MO discs enclosures, yet they are replaceable. On the right you can see inserting CD into caddy.

CD-R or RW has to be recorded like tape in streamer - one track at once, without breaks. If a break in data flow occurs, recorder uses data in its buffer still waiting for data from computer. If the buffer becomes empty, there will be no data to record and older hardware may terminate recording with "BUFFER UNDERRUN" error. The CD becomes useless as it's recorded in half. That's why it's needed to record on older hardware with no resource-consuming background programs running and slowly.

After 2002 many drives have BURNProof (more info), JustLink (more info or here), SafeBurn (more info), ExacLink (more info) or similar method to avoid these events. If computer is unable to supply data to write and buffer is drained, the burning is suspended and the marker is set to mark the end. When data fills the buffer, writing starts from the marker. The gap for marker is usually very small (<2 microns with JustLink). This is a consensus between good, clickless sound or reliably written data and "Buffer Underrun" error prevention.
Other methods like LiteOn Smart-burn (more info) constantly watch for data flow. If it decreases, recording speed is decreased too delaying buffer underrun error to give computer chance to supply data.

Summing up, the most important thing in CD is not the substrate which, if scratched, may be polished, but the "mirror foil", the recording layer. If it's damaged, data is lost. In fact, there's a method to read these discs, but equipment is very expensive and very slow (counting bytes per minute). The technology works only with discs which were read many times and is used only in forensics, as it won't give a complete disc, yet scraps of data. It's as painful and resource-consuming as technology with itrium garnet for magnetic media. Unfortunately it's almost undocumented. As I understood from partial documentation, questions and few tries to obfuscate, when disc is read many times the substrate "works" many times causing internal forces to work in arranged way to internal stresses. To recover data, the disc is lit in parallel, not in perpendicular and some kind of sensor device is used to detect these forces (stress planes?) in a way similar to seeing stress planes in breaking glass under strain. I don't know if any strain is used with CDs.


D.2 - Colored books? What are they?

These are standards of different CD formats. Let's only describe what's in them. I think this will be enough for standard user :) :

1. Red book - Physical properties of Audio CD, sound coding:
     - 16-bit PCM sound coding
     - Physical parameters of CD
     - Optical properties of CD
     - Error correction block, error deviations
     - Laser modulation and land/pit detection system specification
     - Subchannels description
     - CD Graphics (keeping graphics and text in subchannels, they may be presented during playing audio contents)
     - CD Text

2. Yellow book - Specification of CD-ROM, CD-ROM XA (Here is something similar, it's the same standard)
     - Part of Red Book about disc characteristics
     - Optical properties (from Red Book)
     - Error correction system (from Red Book)
     - Subchannels (from Red Book)
     - Data track/sector structures, MODE/??'s
     - ECC/EDC data error correction
     - "System Description CD-ROM XA"
         - Mode 2/XA description, Q-channel
         - ISO9660 data seeking, data interlacing.
         - B/C levels and ADPCM sound encoding
         - Image encoding
         - ??CD-EXTRA??

3. Green Book - CD-I - Specification of "Interactive CD" format, which containg tracks with audio, images, video and data. As these tracks are not addressed in TOC, audio players should skip CD-I data tracks.
     - Sector structure
     - ISO9660 data seeking, interlacing (from Yellow book)
     - A, B, C level ADPCM encoding (from Yellow book)
     - Image encoding (from Yellow book)
     - Image effects implementation
     - CDRTOS - Compact Disc Real Time Operating System specification. System able to process data, run software, handle user input etc.
     - CD-RTOS minimum hardware requirements
     - Motion Picture Extension (MPEG, codec)

4. Orange Book - CD-MO, CD-R and CD-RW specification. For every media there's:
     - Specification and parameters of recorded and non-recorded discs
     - Parameters of "the groove" its modulation to keep disc stability.
     - Data organization, buffer markings
     - Multisession, hybrid discs
     - Measuring and diagnostic recommendations

5. White book - VideoCD:
     - CD Format specification for VideoCD only and Video CD with separate audio tracks
     - ISO9660 structure (as earlier...)
     - MPEG Audio/video encoding
     - Video driving/menu data sequences
     - Subtitle structures, scanning structures (for fast seeking video data)
     - Sample sequences
     - CD-Audio, VideoCD and CD-I Application - "CD-I Ready" standard.

6. Blue book - EMCD, Enanced Music CD or CD Extra (CD-E).
      - CD specification
      - ISO9660 structure
      - ?MPEG specification?
      - Finally: How to put Audio tracks and data tracks after it to make it work as Audio CD in Audio players and Data Cd in computers :).

7. Beige Book - Photo CD Specification - CD which can store photos in 6 resolutions. Not used today. Allowed special hardwar eplayer to show photos on TV.
     - CD specification
     - File structure
     - Photo encoding
     - Player specification

8. Purple book - Describes DD-CD, a Double Density Compact Disc, which allows to store up to 1.3GB on a standard disc. It's achieved by using decreasing groove spacing and shortening pit length. Not popular, as DVDs came to the market.

9. Scarlet Book - SACD, Super Audio CD, DVD-like with multichannel sound, but may contain "CD compatibility layer" compliant with Red Book. It's used mainly for pressed audio CDs.

10. Black book - here's no specific "Black book" standard. All non-standard disc formats are called this way. These are gaming console formats, DualDisc, IBM's experiments etc.


D.3 - DVD-RAM?

Anticipating questions: NO, I DON'T KNOW will your DVD+/-R burner deal with DVD-RAM. Most cheap recorders WON'T record, or even read, but yours may be an exception. For Windows, download Nero InfoTool and check it by yourself.

DVD-RAM discs in cartridges can be removed and will work in conventional DVD-RAM drive, but caddy may be irreversibly damaged during this process.

DVD-RAM is a standard of optical storage which is, contrary to normal DVD, hard-sectored. Its sectors are written in factory, giving characteristical pattern on disc. Introduced in 1998, DVD-RAM was format designed for video storage in camcorders, players and computers, but data storage was also implemented.
DVD-RAM have lots of concentric tracks, not one spiral like in DVD. This allows random access on sector level. More, DVD-RAM discs are rewritable by design, using technology similar to CD-RW (melt-cool-anneal). DVD-RAM discs are known as more reliable than DVDs. Its technology acquired many things from Magnetooptical drives technologies, such as defect management or hardware verifying. Another technology was intelligent drive, which was visible like a SCSI removable hard drive. This changed a little with SATA drives, but is still popular. As the technology developed, some DVD-RAM drives could record one thing and play another - to, for example, record TV programme during watching other from the same disc.
Before DVD-RAM, a similar hard-sectored multiple-writing media was marketed known as Panasonic's Phase-Change Dual (PD disc). PDs appeared in 1995, had 650MB capacity and were so compatible that they could be read on some early DVD-RAM drives. PD drives were compatible with CD-ROM (read-only).

There are following DVD-RAM standards:
 - DVD-RAM 1.0 (1x speed)
     - Single-sided: 2.58GB
     - Double sided - 5.16GB
 - DVD-RAM 2.0 (2x speed)
     - Single-sided -  4.7GB
     - Double-sided - 9.4GB
 - DVD-RAM versions 2.1 - 2.6 with speeds 3x (2.1), 5x, 6x, 8x, 12x, 16x (2.6).

WARNING! There's a bug in some old drives which EJECTS SPINNING DISCS! It appens when 16x disc is inserted to old drive not supporting it.

As I'm talking about strange formats, let's say about another one, which failed to gain any popularity. There could be a pit or there could be a land. Pit or land. 1 or 0. That's binary data written in series of 8 pits/lands. But how about writing states in depth? By using more than 2 depths (levels), information can be stored on a smaller "footprint" using n-ary code for n distinguishable "levels". Optex/Calimetrics experimented with this technology in 2000-2001, using 8-level coding increased CD's capacity 3 times. Finally, in 2001, they shown this technology. Here are 2 pictures of ML (Multilevel) discs and drive. Notice standard-size CD with 2GB of capacity:

 

In July 2002, Calimetrics and Philips presented (ISOM/ODS 2002 conference in Waikoloa, Hawaii) blue laser application in ML discs. It was 34GB rewritable disc/drive system. Thirty four gigabytes of storage was too big to throw to a market full of 700MB CDs and 4GB DVDs, so it was never manufactured en masse. Source of these pictures is not known, as I had it in my pictures-from-the-net archive from some now-defunct news site.


D.4. DVD?

DVD, Digital Versatile Disc, increased density to put more data on the disc. It was invented in 1995 by Panasonic, Philips, Sony, and Toshiba and came to market in 1997. It uses a shorter wavelength laser to make pits and lands half smaller than in CD discs. Groves are smaller too, so they can be much longer, allowing to store more data.
Today, there are 2 types of DVD discs popular: DVD5 (~4.4GB) and DVD9 (~7.9GB). There are more types such as:
    - DVD1 - 1.36GB, 8cm disc
    - DVD2 - 2.47GB, 8cm Dual-layer disc
    - DVD3 - 2.7GB,  8cm, Dual side disc. To read second side it's needed to flip it.
    - DVD4 - 4.9GB,  8cm, Dual side disc, in each side there are 2 layers.
    - DVD5 - 4.4GB, 12cm, single side, single layer
    - DVD9 - 7.9GB, 12cm, single side, dual layer
    - DVD10 - 8.7GB, 12cm, dual side, single layer on each side
    - DVD14 - 12.3GB, 12cm, dual side, single layer on one side, 2 layers on the other. Rare.
    - DVD18 - 15.9GB, 12cm, dual side, 2 layers on each.
In fact, it's hard to buy recordable disc larger than DVD9, as blu-ray manufacturers must earn money from something. Not all drives can support multi-layered DVDs, and not all recorders support 2-sided discs, even after flipping it.

DVD+R? DVD-R?
There are 2 types of recordable DVDs. DVD+R and DVD-R. Both of these types are usually available as recordable DVDs, and they're different.
First, not all TV DVD players will read both + and - discs. Some may read only +, some only -. From my experience, these players will read more -Rs than +R discs.
DVD+R and -R have different capacities (-R is ~6MB larger). Addressing modulation is different too, as groove waving frequency (going along the groove it waves a little to compensate for disc rotation).

More, in late 1990s intellectual property mafias started mass content censorship under shield of  "protecting artists incomes". Because DVD recordable discs had no standard to describe media source, it was possible to freely copy content without any protections i.e. to make 1:1 copies. In 2000, DVD-R(G) (General) was developed to be compatible (uncopiable) with developed CSS (Content Scrambling System) - another copy-protection technology. Earlier DVD-R's became DVD-R(A) (Authoring) discs.
CSS works by encrypting a whole content of DVD using key stored in read-only zone of disc. If the disc is copied, key can't be written to target because in DVD-R(G) this zone is read-only, while in DVD-R(A) it can be written like a normal data zone (yet with quite high-end equipment).
CSS was broken earlier, in 1999, by 3 authors (one is known, which was repressed by government in 2001-2003), so to copy DVDs it is only needed not to copy byte-by-byte but to decrypt it to hard drive and then copy to another media. Most stand-alone players (but not all) can play unencrypted DVDs.


I think it's too early to describe blu-rays here. It's computer history page :). See Wikipedia if you want to know.

PART E: Others

E.1 - Reading
1. Buczynski L. - "Komputerowe Nośniki Informacji"
2. Kai S, Fukumoto A., Aratani A. - "Huge capacity optical memory using DWDD-MO recording"
3. CD "colored books" are not available widely, but there are some notes about these.
4. Manuals of Streamers - you can read some of them in this web page.