SSA 4-Port RAID Adapter 4-I
SA33-3270-02 Micro Channel SSA RAID Adapters
Technical Reference
SA33-3272-02 SSA Adapters: User's Guide
and Maintenance Information
S31H-8612-01 SSA Adapters: Technical Reference
SG24-5750-00 Understanding SSA Subsystems
in Your Environment
195-236 IBM SSA 4-Port Adapter for RISC System/6000
195-298 IBM SSA 4-Port Adapter Enhancements
and Related Features for RISC System/6000
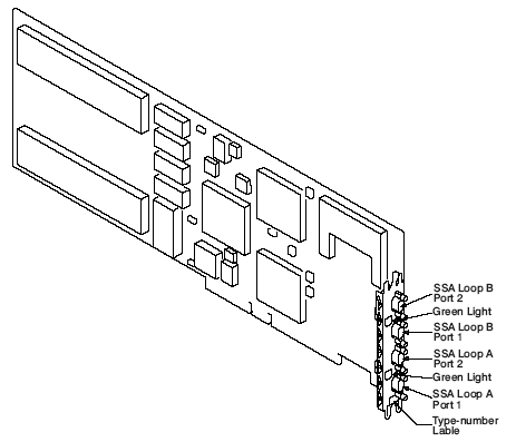
SSA 4-Port RAID Adapter (Type 4–I)
FC (6217)
Base card without DRAM 89H5617
DRAM memory card 73G3233
Lights of the SSA 4-Port RAID Adapter
Status of Light
|
Meaning
|
Off
|
Both SSA connectors are inactive. If diskdrive
modules or other SSA adapters are connected to these connectors eitherthose
modules or adapters are failing or their SSA links are notactive. |
Permanently on
|
Both SSA links are active (normaloperating condition). |
Slow Flash
|
Only one SSA link is active. |
SSA 4-Port RAID Adapter 9-Position Connector
Position
|
Signal Name
|
Position
|
Signal Name
|
1
|
Ground
|
6
|
+ Line Out
|
2
|
- Line Out
|
7
|
Reserved
|
3
|
Ground
|
8
|
+ 5 V
|
4
|
- Line in
|
9
|
+Line In
|
5
|
Ground
|
o
|
o
|
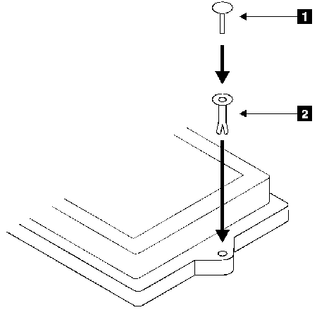
Fast-Write Cache Option Card
Installing the Collar and Pin of the Fast-Write
Cache Option Card
RS/6000 non-RAID SSA adapters
Features Adapter label 4-D Adapter label 4-G
Feature code 6214 6216
Code Name Mayflower
Link speed 20MB/s
RS/6000 RAID SSA adapters
Features Adapter label 4-I
Feature code 6217
Code Name Sarratoga
Link speed 20MB/s
RS/6000 enhanced RAID SSA adapters
Features Adapter label 4-M
Feature code 6219
Code Name Fremont Fremont 2
9595 Main Page
|