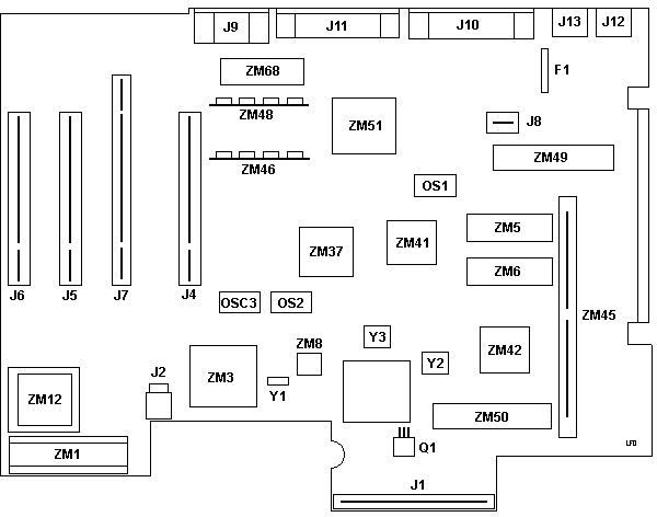
8550z Planar
rf5060a.exe   PS/2 8550/8560 reference diskette v1.08
RESURRECTING 50Z by Mark Baker
188-080  IBM PS/2 Model 50 Z Desktop Systems With Iimproved Hardfile and Memory



8550z Planar
F1 LF 5MF 3A/250v
J1 Floppy riser slot
J2 Battery/speaker header
J4 Slot for Integrated Drive Ctrlr
J5,6 16 bit slot
J7 16 bit w/MME slot
J8 Case fan header
J9 HDD-15 VGA
J10 Parallel base
J11 DB25 serial
J12 KB
J13 Mouse
OS1 1.8432 MHz osc
OS2 25.17500 MHz osc
OSC3 28.32200 MHz osc
Q1 Motorola TIP120
Y1 32.768 KHz xtal
Y2 14.318 MHz osc
Y3 4.0 MHz osc
ZM1 80287-10
ZM3 90X8134ESD DMA
ZM5 15F8365 BIOS Odd
ZM6 15F8366 BIOS Even
ZM8 Motorola MC146818A
ZM12 80286-10
ZM20 90X9228
ZM37 90X8723
ZM41 23F9177
ZM42 05F3994
ZM45 72 pin SIMM
ZM46,48 68X6143
ZM49 P8042AH
ZM50 NEC D765AC-2
ZM51 15F6864
ZM68 INMOS IMSG171P-35
1
ZM46,48 68X6143 PCBs with four NEC D41464-12

Open a Locked Case
>and I don't have the key!!!!

   Turn the unit with the rear facing towards you. Loosen the thumbscrews - then use a *large* flat blade screwdriver to lift up the cover about 3 mm over the lock position. 
   The inside lever goes only behind an edge of the case ... pry between case and rear wall and lift the case up a bit.  Then push the cover from the rear to the front.
   When you have it open: pull the retainer bracket from the lock assembly -
fumble it out and throw it away ...

Uses 85nS 1 or 2MB SIMMs

Zero wait state.

8550z Drive Controller
   The 50-021 uses a proprietary MFM / ST-506 controller along with a CMOS version of a MFM 20MB harddisk - and that's the only drive supported on that controller. The 50-Z uses the MCA DBA-2 controller ... usually they use ESDI-like auto-detection for the drive size and doesn't use any tables (104xx error codes).
   The 50Z-BIOS however has an "AT-style" table for the MFM drives, which ends at Table ID 33 for the 30MB MFM-version of the MCA DBA-2 (17xx errorcodes).
   This table can be edited for larger MFM-drives (up to 500MB) with correcting the CRC checksum of the entire ROM pair. Did that long time ago for a Mod. 60 to install a 350MB MFM drive. Basically you can forget that stuff. 

9595 Main Page