7009 Planar

J1 Internal SCSI
J2 Diskette
J3 Power Supply
J4 Keylock
J5 External SCSI
J6 SCSI Enable/Disable
J7 Three-Digit Display
J9 Parallel
J8,10-12 Set 0 SIMMs
J14-16,18 Set 1 SIMMs
J13 Serial
J17 Riser Card
J19 Tablet
J20 Mouse
J21 Keyboard
J22, 23 CPU Card

J6 SCSI Enable/Disable

7009 Operator Panel



Riser Connector P/N 65G7950, FRU 65G7949


  This makes the connection between the planar and the riser.



Riser P/N 12H0301, FRU 12H0304

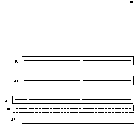
Jx Socket on bottom for riser connector
J0 (Slot 1) 32-bit
J1 (Slot 2) 32-bit
J2 (Slot 3) 32-bit BVE?
J3 (Slot 4) 32-bit

9595 Main Page