The Project Gutenberg EBook of Practical Lithography, by Alfred Seymour This eBook is for the use of anyone anywhere at no cost and with almost no restrictions whatsoever. You may copy it, give it away or re-use it under the terms of the Project Gutenberg License included with this eBook or online at www.gutenberg.org/license Title: Practical Lithography Author: Alfred Seymour Release Date: July 10, 2012 [EBook #40198] Language: English Character set encoding: UTF-8 *** START OF THIS PROJECT GUTENBERG EBOOK PRACTICAL LITHOGRAPHY *** Produced by Chris Curnow, Rosanna Murphy and the Online Distributed Proofreading Team at http://www.pgdp.net (This file was produced from images generously made available by The Internet Archive)
Transcriber’s Notes:
Every effort has been made to replicate this text as faithfully as possible.
Some corrections of spelling and punctuation have been made. They are marked like this in the text. The original text appears when hovering the cursor over the marked text. A list of amendments is at the end of the text.
ALOIS SENEFELDER.“Alois Senefelder never benefited much by his discovery of the elementary principles of lithography, but none of those to whom it has given profitable occupation will remember without some feeling the patient and persistent efforts of the struggling actor and dramatist who, only after the greatest sacrifices and hardships, laid the germ of this splendid development, and watched and guarded its growth.” There is one characteristic feature of the discovery of lithography for which Senefelder ought to receive the fullest credit. Unlike other discoveries of industrial and scientific value, there can be no doubt whatever as to its origin. Senefelder’s claim has never been disputed, yet “the payment of a debt of gratitude to the fact is easily overlooked when the wheel of history has made another turn.”
It has been again and again suggested that the blighting influences of Commercialism have robbed lithography of many of its traditional features and a few, at least, of its best and most artistic qualities as a reproductive art. This same commercial spirit, however, has inspired and encouraged a charming variety of effect both in colour and design, and lithography of to-day, in almost every form of its manifestation, is infinitely more attractive and capable of considerably more expressive power than could ever have been hoped for before commercial utility and value demanded a full recognition. Pleasing and harmonious effects, which are almost[vi] invariably sought after in lithography, need not be inartistic; and it is quite possible for the technique of the lithographic draughtsman to translate original work without a serious depreciation of its pictorial and artistic value.
While expressing a sincere hope that this volume may be of considerable assistance to his fellow-craftsmen, the writer wishes to emphasise the fact that resourcefulness and intelligent application are faculties which may be encouraged and amplified but cannot be imparted even by volumes of text.
A mere formal acknowledgment of assistance cordially rendered by the editors of the British Printer and The Caxton Magazine and Press, Messrs. Penrose & Co., and other firms whose blocks are primâ facie evidences of their interest, does not adequately express the appreciation with which it has been accepted and made use of.
London, December 1903.
| PAGE | ||
| Introduction | v | |
List of Illustrations | xi | |
CHAPTER I | ||
| Elementary Details | ||
| Concerning Stones—Character and Texture—Some Simple Elements—Preparation of Stones—Planing and Levelling—Grinding Grained Stones—Descriptive Treatment—American Method | 1-7 | |
CHAPTER II | ||
| Lithographic Transfer Inks | ||
| Various Forms—Distinguishing Features—Formulæ—Writing Transfer Ink—Stone-to-stone Transfer Ink—Copperplate Transfer Ink—A Modification | 8-11 | |
CHAPTER III | ||
| Lithographic Transfer Papers | ||
| Essential Features—Varnish Transfer Paper—Damp-stone Transfer Paper—French Transparent Transfer Paper—Copperplate Transfer Paper—An Alternative Recipe—Granulated Papers—Photo-litho Transfer Paper | 12-16 | |
CHAPTER IV | ||
| Copperplate Transfer Printing | ||
| The Copperplate Press—The Operation—Charging the Engraved Plate—Cleaning-off and Polishing—Making the Impression—Useful Notions | 17-19 | |
CHAPTER V | ||
| The Lithographic Press | ||
| Mechanical Principles—Constructive Details—Scraper—Tympan—Practical Suggestions—Elastic Bedding | 20-23 | |
CHAPTER VI | [viii] | |
| Lithographic Press Work | ||
| Preparing the Design—Treatment of an Ink Drawing—Chalk Drawings—Alterations—Value of Impressions—Offsets—The Lithographic Hand-roller—Proving—Registration—General Features—Transferring—A Commercial Necessity—Arrangement—Choice of Paper—Transference to Stone—Preparing the Forme | 24-33 | |
CHAPTER VII | ||
| Machine Printing | ||
| The Printing Machine—The Halligan—Some Mechanical Phases—Speed—Pressure—Levelling the Stones—Cylinder Brake—Inking Rollers—Damping | 34-40 | |
CHAPTER VIII | ||
| Machine Printing—continued | ||
| Register—Atmospheric Conditions—The Key—The Gripper—Starting the Machine—Fixing the Stone—Strength of Colour—Grit—Making Ready—Regulation of Speed | 41-46 | |
CHAPTER IX | ||
| Lithographic Colour Printing | ||
| A Commercial Value—Peculiar Features—Colour Sequence—Controlling Elements—A Question of Register—Suitable Paper | 47-51 | |
CHAPTER X | ||
| Lithographic Colour Printing—continued | ||
| Printing Inks—Varnish—Reducing Medium—Relative Values—Some Useful Hints—Bronze Blue—Vermilion—Ink Mixing—Ceramic Transfers—Colour Transparencies | 52-56 | |
CHAPTER XI | ||
| Substitutes for Lithographic Stones | ||
| Metal Plates—Preparation—Manipulation—Descriptive Details—Machine Printing—The Printing Bed—Rotary Printing Machine | 57-66 | |
CHAPTER XII | [ix] | |
| Tin-plate Printing | ||
| Its Evolution—Transfer and Direct Transfer Printing—The Coated Paper—Reversed Designs—Sequence of Printing—Printing Inks—Purity of Tone—Drying | 67-71 | |
CHAPTER XIII | ||
| Tin-plate Printing—continued | ||
| Direct Tin Printing—The Machine—Peculiarities of Impression—Cylinder Covering—Colour Sequence—Printing Inks—Drying Racks—Air-drying versus Stoving | 72-79 | |
CHAPTER XIV | ||
| Tin-plate Decoration | ||
| Suitable Designs—A Variety of Effects—Gold Lacquer—Super-position of Colours—Embossed Effects—Embossing Plates—Lacquers | 80-83 | |
CHAPTER XV | ||
| Photo-Lithography | ||
| Early Experiments—An Analysis—The Direct Process—Transfer Process—Line and Half-tone—Some Difficulties—A Natural Grain—Ink Photo-screen Effects—Essential Features | 84-88 | |
CHAPTER XVI | ||
| Photo-Lithography—continued | ||
| The Copy—Gradations of Tone—“Scraper Boards”—Description and Effect—Shading Mediums—Crayon Drawings—Half-tone Copy | 89-95 | |
CHAPTER XVII | ||
| Photo-Lithography—continued | ||
| A Copying Table—Exposure—Illumination—Photo-litho Transfers—The Paper—Printing—Developing—A Direct Process | 96-101 | |
Index | 102-104 | |
| PAGE | |
| Alois Senefelder | Frontispiece |
| Stone-planing Machine | 4 |
| Stone-polishing Machine | 5 |
| Copperplate Press | 17 |
| Hot Plate | 18 |
| Lithographic Press | 21 |
| Details of Lithographic Press | 22 |
| Lithographic Hand Press | 23 |
| Lithographic Hand Roller | 28 |
| Register Lines | 30 |
| Arrangement of Transfers | 32 |
| Transferring Board | 32 |
| Lithographic Printing Machine | 35 |
| Halligan Machine | 36 |
| Pressure Mechanism | 38 |
| Inking Rollers | 39 |
| Damping Rollers | 40 |
| Gripper | 42 |
| Trimmed Edges | 43 |
| Counter Shafting | 44 |
| Motor Driving | 45 |
| Plate-graining Machine | 59, 60 |
| Plate Bed | 62 |
| Aluminium Rotary Machine | 63 |
| Aluminium Rotary Section | 66 |
| Tin-plate Printing Machine | 73 |
| Tin-plate Racks | 78, 79 |
| Method of Stacking Plates | 79 |
| Scraper Board Work | 91 |
| Scraper Board Textures | 93 |
| Photographic Copying Board | 97 |
There are a vast number of details in connection with lithography and lithographic printing which are indisputably elementary in their character. It would be impossible, however, to regard them as non-essential, and a just appreciation of their value and influence must of necessity enter into any comprehensive exposition of the craft.
Stone as a printing medium.—The value of the Bavarian limestone was one of those fortunate discoveries which tended to materialise lithography as a graphic art, and may even be regarded as a fundamental principle, the practical value of which is only equalled by its far-reaching effects.
Other printing surfaces have been discovered and developed, with more or less substantial results, yet without depreciating their merits, it will be but a fair recognition to concede the premier position to the Solenhofen and other limestones of a like nature.
The homogeneity and porosity of these stones render them peculiarly suitable for lithographic purposes, and it undoubtedly reflects a vast amount of credit upon Senefelder that even at the outset he should select a medium so well adapted and in every way so eminently suitable for graphic reproduction.
I have already, and almost inadvertently, indicated the peculiar value of the Bavarian stone, for homogeneity and porosity of texture are absolutely essential properties, and upon these is based almost every theory which has assisted in the development of this craft. These properties, in conjunction with a suitable greasy pigment, provide the requisite materials for that cause and effect which require and compel consideration.
The simple elements of lithography may be very briefly described, and in this direction at least we must follow certain well-defined lines which may be regarded as well-worn ruts, the consideration of which offers little that is new.
A brief review of the theories of chemical and mechanical affinities is best calculated to impress upon the mind the elementary principles of the lithographer’s art.
The penetrative power of a greasy pigment, together with the porous nature of the litho-stone, may be regarded as the cause by which the lithographer produces as an effect a design or impression which, to some extent, enters into the texture of the stone—the homogeneity of which checks any tendency to spread. This fatty matter may be applied in one or two ways, either as a transfer from some other printing surface, or as a direct drawing with pen, brush, or crayon.
The first question for consideration will be the initial preparation of the litho-stones. These preparatory operations—which have for their object the levelling, polishing, and cleaning of the stones—were at one time entirely performed[3] by hand labour, but are now accomplished with much greater facility and in a more effective manner by machinery. The importance of each individual operation will be more readily appreciated when once its purpose is clearly understood. A litho-stone having a perfectly level surface is necessary in order to enable the printer to secure a firm and uniform pressure over the whole design when printing therefrom. A smooth, polished surface will readily receive the finest designs, and retain all their original characteristics. A clean surface is an absolute necessity, i.e. a chemically clean surface free from grease or any foreign matter which would be likely to enter into the texture of the stone and by so doing injure any greasy drawing or transfer which might be made thereon.
These are simple, elementary principles, and as such are probably familiar to every reader, but the frequent result of familiarity is a dangerous tendency to under-estimate the importance of everyday causes and effects. If, therefore, such a reference as the above to common details serves to convey some intelligent idea of their place and true value, then no apology whatever will be necessary for their insertion in this volume. It has already been stated that, in the preparation of litho-stones, the superseding of hand labour by machinery has effected considerable and important changes.
Several machines, all of more or less practical value, have been introduced to the trade. One of the more recent developments, a stone-planing machine, possesses many features of real merit (Fig. 1).
The stone is securely fixed on a perfectly true bed and passes slowly to and fro beneath the blades of powerful cutting knives. These blades are arranged in an inverted V-shape and locked in an oscillating framework. By an automatic action they are almost imperceptibly lowered at[4] each traverse of the machine, when they lightly cut away the surface of the stone until the old work is completely removed and a smooth level face is assured. The chief objection to this type of machine is that in course of time the knives become worn and slightly irregular, and it is but reasonable to suppose that when a number of small stones have been operated upon and immediately afterwards a full-sized stone is planed, such irregularities will be very pronounced and detrimental.
Many machines have been designed on the simple grinding principle, but one type differs from its contemporaries and offers several distinct advantages over them (Fig. 2).
This machine is constructed on hand-polishing lines, i.e. the movements are to some extent mechanical arrangements of hand-polishing principles. The size of stone makes no difference whatever, and the results are in the main uniform and satisfactory. The inconveniently sharp edges, such as are produced by the planing machine, are unknown,—the wear and tear on the stone is perceptibly lessened, and the power required to drive such a machine is not by any means a serious matter.
When a planing machine does not enter into the operation, and grinding by hand is therefore necessary, sharp,[5] clean sand should be used as a grinding medium. To secure some degree of uniformity in the grain, and at the same time remove all the larger particles of grit, pass the sand first through a fine sieve. The harder qualities of sand have, of course, the greatest cutting power, and therefore are the most suitable for this purpose.
When hand-grinding is resorted to, a continuous elliptical motion of one stone over the other with a slight twist from the wrist will prove most effective.
To finish the grinding, and as far as possible remove the deeper sand scratches, work off the sand in the form of a sludge. Unless this operation is carefully and patiently performed, scratches of considerable depth may appear on[6] various parts of the stone’s surface. These, in the subsequent polishing, may offer a strong temptation to the operator to work over one part of the stone more than another, so as to effect the removal of such scratches with greater rapidity. The almost certain result of this would be an uneven surface, which would in many ways prove troublesome to the printer.
The graining of stones.—This is a matter concerning the preparation of stones which must not be overlooked. The introduction of shading mediums and other contrivances of a similar character has considerably minimised the importance of the grained stone, inasmuch as it cannot now be regarded as an indispensable feature of lithography. It is, however, still of inestimable value, and will probably always find a place and purpose in the practice of lithography, despite its depreciation owing to present-day limitations.
Recognising, then, the possibility of its retention, at least for some time to come, as a suitable printing surface upon which the lithographic draughtsman can work with undoubted facility of execution and effect, we must perforce include a brief description of its preparation in this chapter.
First of all, level the stone and to some extent polish it, after which the graining may be proceeded with. A glass muller about 6 or 7 inches in diameter makes an excellent “grainer.” Failing this, a handy substitute will be found in the form of a small litho-stone, hard in texture, and with a smooth, level surface. Use as a graining medium sharp, clean silver sand only, passing it carefully through a sieve according to the size or depth of the grain required. Sprinkle a little of this sand uniformly over the stone under treatment, together with a few drops of clean water. With a continuous circular movement pass the graining muller from end to end of the stone, exerting a firm and uniform pressure. Repeat this operation again and again, adding[7] sand and water as required. Considerable time coupled with intelligent application will be necessary to carry out this work successfully. Should the sand become too much worn before its renewal the grain will in proportion lose its “tooth” or sharpness. On the other hand lies the danger of producing a grain which is too harsh or pronounced. Therefore much depends upon the skill and judgment of the operator. A safe plan is to ascertain the progress at any time when a satisfactory result might be reasonably expected. The best way to accomplish this is by washing from the face of the stone any accumulation of sand, and drying it, so that a test can be made with the actual grade of crayon to be used in the subsequent drawing. A powerful current of clean, cold water affords the best means for removing every trace of sand from the finished stone, and will leave it in a condition of almost complete readiness for the draughtsman; a good drying is then all that is necessary. Good results have been claimed for a method of graining which was introduced by the Americans a few years ago. In this process the grain is produced by sprinkling the surface of the stone with sand and rolling it with small glass balls. These balls having a limited area in which to work exert a continuous cutting power without any tendency to produce scratches. Some mechanical arrangement is necessary to impart this continuous rolling movement to the glass balls and to maintain a uniform speed. It is quite easy to understand that with such a process, carried out under favourable conditions, very fine results might be produced with great rapidity.
Given a perfectly clean and smooth polished stone as described in the previous chapter, the next important point is the composition of the fatty matter wherewith a design or drawing is applied.
As already stated, the active principle in any suitable transfer medium of this character is invariably the same, no matter what form its composition takes. For applying with pen or brush it must possess soluble properties, and of necessity be reduced to a liquid form. Such soluble properties, however, must not interfere with its fatty properties, these latter being essential features.
In crayon or chalk drawing the composition must be employed in a concrete form, as a crayon, the hardness and texture of which will be controlled (1) by the character of the work to be carried out; (2) by the character of surface to be operated upon.
Transfers from other printing surfaces can only be made when the composition used is in the form of a pigment, and reduced to a convenient working consistency.
These, then, comprise the varieties of transfer mediums which are likely to be required in most phases of commercial lithography. Others are, of course, employed for specific[9] purposes and under peculiar conditions; but these, again, are more or less modifications of existing formulæ, prepared to meet particular requirements.
The ink used for transferring impressions from one printing surface to another, e.g., the re-transferring of work from stone to stone, may with a very slight alteration serve for type to stone transfer; but a considerable departure must be effected to produce a satisfactory photo-litho transfer ink, while a composition of a peculiarly distinctive character will be requisite for the successful production of transfers from copperplate engravings, as well as for a transfer ink for writing and drawing on stone or transfer paper. This writing transfer ink must be soluble in water, yet without becoming slimy; otherwise it will not work freely with the pen or brush. It must also dry quickly, and without any tendency to smear.
A plate transfer ink must neither melt nor drag when applied to the hot plate. It must, of course, soften sufficiently to fill in the lines of the engraving, and should so harden as it cools that it cannot easily be dragged away during the cleaning and polishing operations. See Chap. IV. page 19.
Each and all of the above inks must be excessively greasy and penetrative, but without having the slightest tendency to spread superficially. The ingredients and methods of preparation specified in the succeeding paragraphs are not given as standard formulæ, but in corroboration of statements made, and as practical illustrations of the character and purpose of transfer inks and compositions generally.
Transfer ink.—Writing transfer ink, for writing or drawing on stone or transfer paper, may consist of equal quantities of:—
with the addition of carbon black or black printing ink as a colouring matter. Another reliable formula is:—
| Soap | 4 parts |
| Tallow | 3 parts |
| Wax | 6 parts |
| Shellac | 4 parts |
| Carbon black | 1 parts |
Whichever formula is adopted the method of preparation is the same combination.
Free the soap from all moisture by drying, and thus facilitate its combining with the other ingredients.
Melt the tallow and wax over a hot fire until they are thoroughly well mixed. Add the dried soap a little at a time, so that it may become thoroughly incorporated with the wax and tallow. Bring the mixture to boiling-point, then remove it from the fire or stove and ignite the fumes which will then be rising freely. Continue the burning process for about fifteen minutes, then extinguish the flames by replacing the lid of the pan. The shellac and black may be added while the composition is cooling.
Stone-to-stone re-transfer ink.—The ingredients of this ink consist of:—
Melt the transfer ink over a slow fire and add the other ingredients separately.
Canada balsam will not only add to the effectiveness of this ink, but it will also improve its working qualities.
Copperplate transfer ink.—Ingredients consist of:—
The method in this case differs somewhat from the[11] preceding. First melt the bitumen and then add the wax and soap in small pieces as before. Burn this for fifteen minutes, and add the shellac, balsam, and black, boiling the whole gently for forty minutes. Mould into squares or sticks, and for convenience in handling cover these with tinfoil.
Should an extra powerful ink be required for shading or stippling films, the stone-to-stone re-transfer ink can be reduced to a working consistency with castor oil instead of varnish, and thus rendered suitable for this purpose.
Transfer papers are even more used than the transfer compositions already described, and in greater variety, in consequence of which there is a wide difference of opinion concerning their merits.
To a certain extent the specific value of any transfer paper must depend upon local conditions. That which might be of the utmost value to one printer would in all probability fail to meet the requirements of another. With these also, as with the transfer inks, the main point is to grasp the general principles involved. Adhering to these principles enables any intelligent workman to adapt the transfers to his own peculiar necessity. It is most important that lithographic transfer paper should be absolutely impervious to the transfer composition or ink, so that an impression of full strength can be conveyed to the stone, leaving its greasy properties unimpaired. The paper therefore must undergo special preparation, and here again the character of the work and the conditions under which it is carried out are the chief controlling elements. So much is this the case that many lithographic printers prefer to make their own transfer paper, and find such a procedure eminently satisfactory.
A good bank post double foolscap paper, about 26 lb., first thinly coated with a solution of concentrated size and afterwards varnished with a heavy coach body varnish, gives excellent results. When transferring large work in which a number of printings are involved, and where accuracy of register is a sine quâ non, the following mixture may, if desired, be substituted for the coach body varnish:—
| Best oak varnish | 1 quart. |
| Turpentine | ½ pint. |
| Boiled linseed oil | ½ pint. |
Paper thus prepared rarely stretches or becomes distorted to any appreciable extent, and can be used with equally good results on either cold or warm stones.
Its keeping qualities are, however, limited; it is therefore advisable to utilise the transfer impressions with as little delay as possible.
This may be criticised as a somewhat primitive and old-fashioned transfer paper; but of the many transfer papers now in use, none can claim to be exactly new.
Another stone-to-stone transfer paper of the simplest possible character can be made by coating a good writing paper with the following composition. Soak 3 oz. of glue in 6 oz. of water for about 8 hours. Reduce 1 lb. of starch to a thick, creamy paste by rubbing it down in a little cold water and then adding boiling water until the required consistency is obtained. Mix the starch and glue together, and add a little gamboge or cochineal as colouring matter, so as to enable the printer to see at a glance which is the coated side of the paper. Spread this composition on the paper while it is still warm.
A transparent transfer paper with a soluble coating is frequently desirable, and for certain purposes may be strongly[14] recommended. A French transfer paper meets such a requirement, and at the same time possesses many other excellent qualities. It picks up a firm, clean impression, and transfers every particle of it to the stone. It is also transparent, and sufficiently adhesive to stick to a very slightly damped stone under a light pressure.
A transfer paper which may be used as a base upon which to write or draw a design for subsequent transference to stone, as well as for stone-to-stone transferring, should be coated with a composition of a gelatinous character, which will not be readily soluble in water. Writing transfer ink is of course dissolved in water, and its effect on a soft, soluble composition would be disastrous.
The following formula is suggestive as well as practical:—
| Gelatine | 4 oz. |
| Isinglass | 6 oz. |
| Flake white | 3 lb. |
| Gamboge | 2 oz. |
Make a strong size of the above by boiling the gelatine and isinglass with a little water. Mix the gamboge and flake white with a little warm water, and add the mixture to the gelatine solution. This composition must be applied to the paper while still quite warm, as it forms into a comparatively stiff jelly while cooling. This paper should be transferred to warm stones.
Copperplate transfer paper is to some extent a development of the variety just described; that is, if the conditions under which such transfers are made will bear comparison with operations of an essentially different character.
The composition used for coating copperplate transfer paper must possess a somewhat heavy body, and for this[15] reason plaster of paris enters into its composition, which is as follows:—
| Plaster of paris | 2 lb. |
| Flake white | 1 lb. |
| Flour | 2 lb. |
| Fish glue | ¼ lb. |
| Alum | 1 oz. |
Soak the alum and glue from 8 to 10 hours, and then boil them until they are dissolved. Make the flour into a smooth paste by the addition of a little water, and mix it with the flake white. Mix the plaster of paris with water, and stir continuously until it becomes incapable of setting. Add the other ingredients, already mixed, and see that they become thoroughly incorporated with the plaster of paris, after which coat the paper twice with the mixture.
The following may be substituted for the above:—
| Plaster of paris | 2 lb. |
| Flour | 2 lb. |
| Gelatine | 4 oz. |
A transfer paper with its surface granulated to represent a mechanical stipple, or the texture of a grained stone, may be prepared in the following manner. Take of:—
| Starch | 9 oz. |
| Parchment chippings | 12 oz. |
| Flake white | 14 oz. |
Prepare the starch as previously described, and dissolve the isinglass by boiling. Mix the flake white into a thin paste by the addition of water. Warm the three ingredients, and mix the whole thoroughly. Coat a fairly heavy printing paper twice with this composition, and when it is thoroughly dry give it the required granulation by means of grained stones or engraved plates. The grain thus imparted breaks up the drawing into a series of minute dots. Paper of this description is most suitable for pencil or crayon work. Its[16] usefulness is obvious. It enables the artist to use his chalks in the usual manner, without the inconvenience of handling large stones. No graining of the stone is necessary, and the grained effect can be confined to any portion of the design.
Photo-litho transfer paper is in every respect a specific article, the coating of which consists of a gelatinous emulsion, which can be readily sensitised, and upon which a photographic image can be developed. Special preparation and manipulation are therefore necessary in connection with its production, and these points will be fully dealt with in a subsequent chapter.
One more variety of transfer paper should be mentioned, namely, the diaphanic, which possesses excellent qualities for certain classes of work. It is very transparent, and extremely useful in the tracing of key formes, or for making facsimile drawings for immediate transference to stone.
Although copperplate printing may not now be so extensively practised as in years gone by, it is not, so far as we can judge, very likely to be superseded in the near future. It is still regarded as a necessary adjunct to lithography, especially where the amount of commercial work produced is of any moment.
From a purely mechanical point of view the construction of the copperplate press (Fig. 3) is of an exceedingly simple character. Its primary purpose is to produce a heavy and uniform pressure on the plate during operation.
After being charged with a special pigment and cleaned as hereafter described, the plate is laid, face upwards, on the iron[18] bed or table of the press and in contact with the paper, and passed through between two iron cylinders. These cylinders are so adjusted as to produce an exceptionally heavy pressure. Such are the simple elements of a process which, however, requires much closer investigation.
In its application to lithography the following are the only requisites for copperplate transfer printing.
A stick of prepared transfer ink—whiting, free from grit—transfer paper, and a plentiful supply of soft rags. Likewise, an iron plate with a gas jet underneath (Fig. 4), a square of printer’s blanket, and a damp book consisting of twenty or thirty sheets of blotting or other absorbent paper slightly and uniformly damped.
A good copperplate transfer paper can be made according to the recipe given in Chap. III., but unless a fairly large quantity is used the commercial qualities will be found most economical.
Copperplate printing, in its application to lithography, is a simple operation, but it requires extraordinary care for its successful execution. The conditions under which lithographic transfers are made from a copperplate engraving are vastly different from those which control copperplate printing for ordinary purposes of reproduction.
The engraved plate is first well heated by means of the hot plate already mentioned. The transfer ink is then forced into the engraved parts until every line is fully charged, the ink having been previously enclosed in a double fold of soft rag.
During this part of the operation great care must be[19] taken that the transfer ink does not burn through overheating, as this would partially destroy its greasy nature and leave it hard and brittle. The transfer impression would suffer in consequence, and, though to all appearance perfect on the paper, it would be weak and ineffective when applied to the lithographic stone. Such an error of judgment is not at all unusual, and should therefore be the more carefully guarded against. It frequently occurs without the knowledge of the operator, owing, it may be, to his over-anxiety to complete his work in as short a time as possible.
The plate must now be cleaned, i.e. the surplus ink and scum must all be removed. This may be done before the plate is quite cool, and after a little experience it will be possible to accomplish the cleansing process without in any way disturbing the ink in the lines of the engraving. The rag used for cleaning must be tightly folded into the form of a pad and kept free from creases. After final cleansing and polishing with whiting the plate is ready for an impression. The transfer paper requires damping until it is quite limp, when it is brought into contact with the inked plate and subjected to a very heavy pressure. The backing is a woollen blanket, preferably of fine texture; this ensures perfect contact between the plate and the paper. The plate is now very slightly warmed to dry the transfer paper, which is allowed to peel off; this it does very readily if, after a little while, the corners and edges are but slightly eased.
Oil of tar will effectually remove any accretions of copperplate transfer ink which may have hardened in the lines of the engraving.
It may be useful also to know that it is possible to use a small lithographic press in place of a copperplate press, assuming, of course, that a sufficiently heavy and uniform pressure can be guaranteed. This is not altogether an innovation, yet it is not a familiar notion.
It is not a little surprising to find that the mechanical principle of the lithographic press in general use to-day is almost identical with that which the pioneers of the craft employed so successfully. This is an interesting fact which either reflects much credit upon the ingenuity of the early lithographic printers or points to an unreasonable conservatism on the part of the present-day craftsmen. A discussion of this phase of the question would be of doubtful interest, for the practical printer has long been accustomed to regard it simply as a convenient appliance for the production of a heavy and readily adjustable pressure.
A brief examination will prove to what extent these requirements are fulfilled by the modern lithographic press (Fig. 5).
The simplicity of its construction suggests a first point for favourable criticism. In fact, its general mechanical arrangements are so exceedingly simple that the merest tyro might readily understand their principles and purpose.
The adjustability of the pressure by means of the screw D (Fig. 8) is both effective and necessary, owing to the constantly varying thickness of the lithographic stones.
The pressure of the boxwood scraper B on the surface of[21] the stone is perfectly rigid, and yet, owing to the intervention of the tympan C, is sufficiently elastic to ensure the closest possible contact. Figs. 6 and 7 show one or two constructive details by which the hand lever A and the cam motion E bring up the cylinder F to the bottom of the carriage or bed of the press, Fig. 8.
It is in this position that the movement of the carriage gives the necessary pressure required to pull an impression. The shaft H runs across the press and operates a similar cam to E on the opposite side. These two cams raise the brass block G and give the requisite support to the cylinder F when the pressure is applied.
These are the chief characteristics of the lithographic press, and as such they require not a little attention and intelligent manipulation. It is practically impossible to[22] secure a steady and uniform pressure unless the scraper and tympan are carefully adjusted.
The former must be perfectly true with its V-shaped edge nicely rounded, and the latter tightly stretched on the frame C so that it will not sag or bulge when pressure is applied and the scraper passes over it. To reduce the enormous friction caused by this pressure the back of the tympan is usually dressed with a mixture of tallow and plumbago, a dressing which requires frequent renewal. The plumbago possesses but little body, and its salutary effect soon passes away. To prevent this and to increase its adhesiveness it is sometimes mixed with a little gum. A mineral black which is found in large quantities in the west of England is even more effective than plumbago for this purpose. It forms a strong and flexible dressing for the leather, is peculiarly adhesive and provides an efficient lubricant.
It is a decided advantage to have two tympans in use, one for small stones and another for the larger sizes. It is obviously unwise to pull a number of impressions from small stones with a large tympan, for if this practice is persisted in the tympan leather not only loses its shape, but becomes perceptibly thinner on such parts as may have been most subjected to pressure.
For similar reasons it is advisable to have a number of boxwood scrapers of different sizes. The “dents” produced by a small stone on a large scraper can only be removed by planing.
In lithographic press work some form of elastic bedding[23] placed underneath the stone will not only materially assist the pressure, but will also minimise the risk of breakages. In fact, the pressure is frequently so keen and of such a direct character as to render this arrangement little short of a necessity. Extra thick linoleum will serve this purpose admirably, and a zinc covering for this bedding will complete the equipment of the lithographic press.
The operations directly associated with lithographic press work are of sufficient importance to warrant a full description of each, and will form the nucleus of the following chapter.
The operations directly associated with lithographic press work are more or less of a preparatory character. The preparation of a design, in its progressive stages, from the lithographic draughtsman to the printing machine, is usually carried out in conjunction with the press. Only under exceptional conditions or for some particular class of work is the lithographic press actually employed for printing purposes. Its ready adaptability to the ever-varying thickness of lithographic stones, and the manner in which pressure can be applied at will, as well as the intense sharpness of such pressure, render it peculiarly suitable for the work now under discussion. Such operations will be better understood and probably more easily remembered if they are described in a sequence such as might be presented under average commercial conditions. Taking a design as it leaves the lithographic draughtsman, i.e. in the form of a greasy drawing on stone, the first object of the printer is to so prepare it as to preserve the conditions described in Chap. I. page 2. This he may accomplish in the following manner.
Cover the whole stone with fresh strong gum and allow it to dry. Then if it be an ink drawing, wash off the[25] gum with water, and remove the drawing ink from the surface of the design with a few drops of turpentine and a piece of clean rag. Proceed to roll up with a lithographic hand-roller charged with good black printing ink. The consistency of this printing ink can only be determined by the character of the work under treatment. It is therefore a matter of experience rather than rule. Heavy designs covering large areas can be worked up with moderately thin ink, while work of a finer description will most probably require a stronger ink for its successful treatment. Between these two extremes there is a variety of conditions and effects which will require a ready recognition and an intelligent adaptation or modification of any operation which may be described. It may even be advisable to rub up the work with a piece of soft rag and printing ink, but the clearness and crispness of the drawing can best be preserved by a complete removal of the greasy ink with which the drawing was originally made. More particularly is this desirable when heavy, solid work is in close contact with work of a finer description, for the excessively greasy character of the artist’s drawing ink has a dangerous tendency to smear or spread and to thicken the design, unless a reasonable amount of care is exercised. After rolling up the work as well as possible, and having decided that it is firm and strong and is fully charged with ink, dry the stone perfectly and dust over the design with finely powdered resin or French chalk. With a piece of water of Ayr stone polish away any scum or dirt which may surround the work, and etch it quickly with a weak solution of nitric acid. Cover up with strong gum and dry it. The design is now ready either for proving or transferring.
The treatment of chalk drawings, grained stones, or transfers from grained paper needs a slight variation of the[26] operations already described. The preliminary etching is generally carried out by the draughtsman by flooding the stone with a mixture of gum and acid, after which the gum solution is allowed to dry. The chemical change which takes place during this etching is often described as one in which the soap present in lithographic chalks is changed to an insoluble compound. This chemical change is perhaps a somewhat contentious matter, but the effect and not the principle involved is to us the matter of primary importance, and this effect is such as to actually prevent any spreading of the design on the stone beyond the lines of the original drawing.
Returning once more to the operation, wash off the gum, and, having removed the excess of water in the usual way, roll up firmly with a strong black ink. Instead of washing out the drawing with turpentine immediately, work off the original chalk by rolling up with a good nap roller and taking frequent impressions. In this way the grain of the drawing will be gradually developed and rendered fit for further operations. The stone can then be passed to the prover or transferrer.
A French writer, in referring to the importance of really good chalk drawing and printing, as well as to its artistic and technical value, once said: “The printer requires a fair appreciation of that subtle suggestiveness which gradations of tone can impart to a chalk drawing before he can hope to successfully reproduce the artist’s original conception. A good printer handles his roller over a chalk drawing with the same feeling as that with which a violin player handles his bow. By movements rapid or slow, and by greater or less pressure over certain parts, he charges the drawing to the proper tone.”
If at any time the original work requires alterations, they may be executed in the following manner. Roll up[27] the design firmly in strong, black ink, and, after fanning the surface dry, dust it over with French chalk. Make the necessary erasures with water of Ayr stone and etch with fairly strong nitric acid. Polish slightly, and wash well with a plentiful supply of clean water. Pour over the stone a very weak solution of alum, and again wash thoroughly with hot water, so that its rapid evaporation may leave the work ready for immediate manipulation. Alterations may be made by transferring or drawing. In either case it is advisable to gum up the work with strong gum and allow it to stand until dry. The subsequent treatment of any alteration will, of course, depend upon their character and extent. As new work, they should be carefully handled.
It is most important that a very weak solution of alum should be used. Being an alkali, a strong solution would have a tendency to dissolve the greasy particles of the drawing and cause them to spread and thicken.
It is always advisable to take an impression from each design, whether it be in ink or crayon, before it is laid aside for subsequent manipulation. These impressions will not only reveal any inaccuracies or weaknesses which might otherwise pass unnoticed, but also serve as a useful record and for comparison with other transfers or impressions which may be required.
There are other phases of preparatory work which come within the scope of the lithographic pressman, and as they frequently constitute an intermediary stage between the first drawing of the draughtsman on stone and the making of transfer impressions to facilitate reproduction, a description at this point will be appropriate.
It may be that a key forme only has been prepared, or perhaps an outline forme with sufficient detail. In either case a number of offsets equivalent to the number of colours[28] necessary for the completion of the design will be required. These are made by taking good, solid impressions in stiff black ink from the key or outline forme. Dust these over with a mixture of three parts Venetian red and one part lamp-black. Lay them in convenient positions on a well-polished dry stone, and run them through the lithographic press with a light yet firm pressure. The result will be faint yet sufficiently clear offsets of an outline which will enable the lithographic draughtsman to prepare any number of formes, and these will register or fit each other and the original drawing with perfect accuracy. Such outlines will in no way affect the work of the draughtsman, and will disappear at the first application of the gum sponge or moisture in any form.
A lithographic nap-roller (Fig. 9) facilitates the work of the pressman in the preparation and development of original drawings on stone, and becomes an absolute necessity when crayon drawings on grained stones are operated upon. The preparation and preservation of a roller of this description requires a more than average amount of care and attention. The best rollers are covered with French calf-skin with a soft, velvet-like nap, and may be prepared as follows. Run the roller in crude castor oil for a short time until the leather becomes soft and pliable, then work out the superfluous oil by repeated rolling in medium varnish, occasionally scraping off the varnish with a broad blunt knife. Continue this for a day or two, then gradually work into the skin some good non-drying black printing ink. The roller thus prepared may be somewhat harsh, but a few days’ use will bring it into condition. An occasional application of tallow or lard, say about once a week, will keep the roller skin soft and pliable, and counteract the[29] hardening effect of constant contact with the damp surface of the lithographic stone and the oxidisation of the printing ink.
Proving the work of the lithographic artist, though not always an absolute necessity, is a helpful and most important function. In its progressive stage it enables both designer and lithographer to observe the realisation of their colour schemes, and to amplify or minimise if necessary the effects they desire to produce. Errors of judgment or of detail can be rectified before the work reaches a more advanced stage. Again, a finished proof offers something of a tangible character for an expression of approval or disapproval, and serves as a useful and helpful guide to the printer throughout the subsequent operations.
This will show clearly the importance of the prover’s work, and though it is not by any means an unusual proceeding to prove up even the most elaborate designs in the lithographic printing machines, it is, for obvious reasons, more convenient to confine such work to the press. It may therefore be regarded as an intermediate operation, distinctly apart from the preparation of the original drawing which precedes it, and the arrangement for machine printing which follows. The distinctive and pre-eminently the most important feature of proving is the manner in which one colour is registered with another; and although the methods usually adopted are of the simplest possible character, the most scrupulous care is requisite for their successful application. It appears to be an almost ridiculous plan, so simple is it, to cut away the angles formed by the register lines after the first printing (Fig. 10A), and then to place them to corresponding lines on each colour forme, or to pierce the register lines as in Fig. 10B, passing a fine needle through each puncture into corresponding holes drilled in the stones and allowing the sheets to fall into position,—yet these operations demand constant care and attention.
The mixing of colours for proving, and the general principle of their application, are matters which are almost entirely under the control of the printer. Their selection and the manner in which they are employed are both determined by the individual character of the work. It is impossible to indicate any “rule of thumb” guide for their application or manipulation. The individual fancy of the artist, or the wish of a customer, are the only probable complications which may have to be considered. Then again, many phases of the work are more or less experimental, when the resourcefulness of the printer may be tested, and the mechanical features of his work be relieved by the exercise of intelligent application, if not of artistic perception. Very rarely is it possible to print from the litho-draughtsman’s original drawing, and even when it may be convenient to do so, it is, in the majority of cases, unadvisable on account of the element of risk involved. There is an ever-present danger of the stone breaking,—a catastrophe which would necessitate an entire reproduction of the design, and even under the most favourable conditions the constant attrition produced by the rollers, etc., would have an appreciable effect on the work, and in course of time destroy its value for graphic reproduction.
Many other equally cogent reasons why duplicates of the original should be made for printing purposes present themselves. The chief of these is an essentially commercial one. To reproduce half a million impressions from a single small drawing would obviously depreciate the commercial value of[31] lithographic printing very considerably, and although there is no record of the circumstances under which the duplicating of original work by means of transfers was first evolved, it is only reasonable to suppose that it was the direct outcome of a necessity which was as peremptory in its demands as it has been far-reaching in its effects. The method is one by which any number of impressions can be made on a suitably prepared paper, and with a sufficiently greasy pigment. These can be re-transferred to a lithographic stone, and in this way facsimiles of the original may be secured and arranged in the manner most convenient for machine printing. Great care is necessary in making these transfer impressions. They must be perfectly solid, yet not overcharged with ink, i.e. they must be clean and sharp, and as nearly an exact replica of the original work as it is possible to make them.
That the further description of these operations may be as lucid and practical as possible, we will apply it to ordinary work-a-day conditions, and suppose that a design in three workings has been lithographed and prepared for transferring as already described. The size of the work is 7¼ in. by 4½ in., then the paper on which it is to be printed ought to be double crown, 20 in. by 30 in. This will allow 1½ in. for the gripper and ½ in. margin at the back and sides. Sixteen transfers can be pulled from each colour forme on a thin, transparent transfer paper. Mark out a sheet of stout paper as in Fig. 11, and arrange the transfers in the position indicated by the dotted lines. The gripper margins A A are determined by the construction of the machines, and may be varied accordingly.
Varnished transfer papers may be laid down on a slightly warmed dry stone, and if French transfer paper be used the stone must be slightly damped. If the sheet of transfers is laid down to a board—Fig. 12—uniformity of gripper margin[32] will be assured throughout the series, and the work of the machine printer facilitated.
Pull it through the lithographic press with a gradually increasing pressure in the usual way. The varnish transfer paper will be sufficiently tacky to adhere slightly to the surface of the stone, so that the pressure may be repeated again and again with perfect safety. It may not be possible to remove the base upon which they were arranged, as it is usual to secure them in position with paste. At this point the manipulation of the two varieties of paper differs slightly. The thin, transparent variety is usually fastened down to its paper base with syrup, glucose, or some sticky composition of a similar character. This paper backing can be removed immediately after sufficient pressure has been applied to fix the transfers to the stone. As this transfer paper is adhesive it is necessary to damp the surface of the litho-stone before it is laid down, when, of course, it will readily adhere, even under a moderately light pressure.
The further preparation of work, after being transferred in this manner, is in many respects similar to the treatment of new work, but with this important difference. A new transfer should almost invariably be worked up with a soft rag and black ink, the latter being thinned down with turpentine and varnish. Gum up the work, and allow the gum to dry. Roll a piece of soft rag into a pad, and charge it with printing ink which has been thinned down. Wipe off the gum on the surface of the stone, leaving only a thin film over the work. Rub up the transfers with the rag already prepared, and when fully charged with ink cover them with fresh gum. If possible they should stand for one or two hours, when the rolling up and etching may be proceeded with.
Accuracy of register can be ensured by the second and third sets of transfers being patched up to the first forme in the following manner.
Make two fairly strong black impressions of this forme on a stout unstretchable paper. Fix these up on a glass frame in such a position as to allow the light to pass through them, and carefully place each transfer in its exact position. They can then be laid down on separate stones in the same way as the first set. These are the simple outlines of the transferring process. In detail they may, of course, be modified to meet the exigencies of peculiar conditions, which in lithography are frequently the controlling powers, and at all times are matters of vital importance.
Concerning the structural qualities of the various types of lithographic printing machines now in use, much might be written and divers opinions expressed. In this respect, however, it would be invidious to suggest that one maker’s machines were better than another’s, and such would be the natural trend of a discussion on these lines. The machines all have, it is true, many points in common where comparisons would be legitimate and easy. Yet, on the other hand, they each possess distinct advantages which will no doubt appeal to the printer individually, in proportion to their suitability or otherwise for his particular work. Conviction will follow experience in these matters, and any decision arrived at after this fashion may be regarded as a useful and valuable acquisition.
The illustration on page 35 (Fig. 13) gives a fair general idea of the modern lithographic machine.
Fig. 14 illustrates a somewhat novel type of lithographic printing machine, in which the gripper is entirely dispensed with, the sheet being held to gauges by the operator until caught between the small cylinder and the stone, when pressure is immediately applied. The stone is simply blocked up in the bed of the machine and the position of the print[35] on the paper assured by moving the gauges. This useful little jobbing machine is a decided innovation, and the simplicity of its construction is only equalled by the precision of its movements.
Lithographic machine printing presents many peculiar features, each one of which requires careful and constant attention for their successful operation. Some of its purely mechanical aspects—the care of the machine and its accessories, together with their various functions and applications—offer a wide scope for resourcefulness and ability of a high order. The primary purpose of the machine itself was undoubtedly to accelerate the reproductive power of lithography from a commercial point of view; and throughout the entire course of its development the aim of the engineer has been to produce a printing machine with an ever-increasing capacity[36] for reproduction. It does not follow, however, that the printer’s responsibility has been proportionately increased. Mechanical appliances have now so far superseded hand labour that, apart from a thorough knowledge of the principles of lithography, which is in itself essential, successful lithographic machine printing is largely due to resourcefulness, alert perception, and a skilful blending of mechanical and technical knowledge.
Passing over the vast amount of detail which is usually and almost invariably associated with machine printing, but which offers little that is new to the practical worker, it might be advantageous to discuss a few points which are too often overlooked.
Speed, as has already been pointed out, is a very important factor in lithographic machine printing. It has become quite a necessity, and everything which conduces to it should receive the most careful consideration. Economy of power is too seldom regarded as a standard of efficiency in the printer. At any rate, as far as this is concerned it is doubtful if he[37] fully realises the effect of what may appear to him as insignificant matters. A little pressure more or less on the stone may be in itself a mere trifle, so also would be a careless arrangement of the inking rollers or indiscriminate damping of the stones, yet, when taken together, what a considerable waste of power they might cause;—a waste which is altogether unnecessary and could easily be obviated by care and forethought. Excessive pressure is frequently resorted to in order to “bring up” an impression which is defective owing to some error of judgment in its preparation. It undoubtedly secures the desired effect, but at what a cost! There is a proportionately heavier drag on the machine and a greater strain on its most vital parts. The following view of this matter may be regarded as somewhat exaggerated, but it is by no means an uncommon state of affairs, and will at least serve to emphasise the importance of this point. It is a popular fallacy to suppose that in adjusting the litho-stone to the bed of the printing machine it should be made perfectly level. As a matter of fact a much easier and more satisfactory impression can be made from a stone which is worked just a little higher at the front or gripper edge than at the back, and for this reason. The drag on the cylinder as it makes the impression is appreciably greater at the back than at the front, and when the pressure is heavy it has a tendency to leave the back edge with a very decided jerk. The remedy is obvious and simple. As already suggested, the stone should be set in the machine with the least possible inclination towards the front. This adjustment is easily effected by a judicious arrangement of a few layers of brown paper. Just think for a moment of the effect likely to be produced by such a jerk or jar, which would under ordinary working conditions occur from twelve to fourteen times per minute whilst the machine was in motion! Abnormal pressure would of course intensify the strain, and sooner or later produce results of a[38] decidedly disastrous character. Under the most favourable conditions this continual springing would tend to move the stone out of position, and thus affect the register of one forme with another.
Another certain result of this condition of things is, that the sharp pressure on the back edge of the stone would almost certainly cause an appreciable indentation in the cylinder covering. This would eventually cut through, or at least interfere with the working of a larger sheet at some future time.
The mechanism for raising or lowering the lithographic stone in the machine for the adjustment of pressure is comparatively simple (Fig. 15).
There are two screws similar to A which pass right through the feet of the stone carriage B B. A movement of the screws will therefore cause a corresponding movement of the stone carriage on the blocks or inclines C C. The lock-nut D holds the screw securely once the pressure is adjusted.
So few printers really understand the proper adjustment of a cylinder brake that some information concerning it will no doubt prove acceptable. In the first place, a continuous action brake which can be released at certain intervals is most suitable. It holds the cylinders perfectly rigid whilst the machine is running free, and applies a sufficient check at the points required. The intermittent movement referred to is obviated in various ways. Fig. 13 shows an example of one which is both simple and effective. It might be well also to explain the principle and purpose of the cylinder brake. It is almost impossible to cut mechanical gearing which will run easily and yet be entirely free from slogger. Consequently the revolution of a printing machine cylinder[39] would be more or less jerky unless steadied in some way. This is especially the case when it reaches the stone, and, owing to the pressure applied, lifts a little in the gearing. A recognition of this simple matter will enable an intelligent workman to arrange the brake action with judgment and effect.
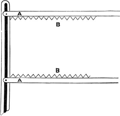
A comparison of the old arrangement of inking rollers (Fig. 16A) with the new (Fig. 16B) is in itself an object lesson in this question of power and its economical application. It is but reasonable to suppose that the power required to move a set of rollers arranged in the old-fashioned manner (Fig. 16A) will be infinitely greater than that which would be needed for such an arrangement as shown in Fig. 16B.
Pursuing this matter still further, the question of indiscriminate damping presents itself. Granted that the influence here is an indirect one, yet it is a cause which[40] frequently leads to an undesirable finish. Every printer knows something of the effect produced by excess of water upon printing inks. It hardens and stiffens them by accelerating oxidisation. In course of time their free working on the rollers is interfered with, and loss of power is by no means the worst result. Weak and impoverished impressions, abnormal wear and tear of the printing forme, and excessive saturation of the paper may follow.
In lithography generally, and in lithographic machine printing particularly, the damping of the stone is a matter which requires constant and careful attention; any arrangements for this purpose should therefore be as effective as possible. The damping rollers should be thoroughly cleaned each day, in order to remove any scum or grease which may have been collected from the printing forme.
The arrangement of damping rollers shown in Fig. 17 is a decidedly practical one. The upper roller consists of metal, usually brass or zinc. It collects any accumulation of ink or scum from the actual dampers, and can be cleaned at any time without serious interference with the progress of the work. Its adoption, however, has not been very general, although it would be difficult to ascribe any good reasons for such a fact.
It is almost impossible to overestimate the importance of register in lithographic machine printing, and any suggestions which are likely to be of assistance to the printer in this matter will no doubt be welcomed.
Variable atmospheric conditions, insufficiently matured paper, or constitutional defects in the machine, are frequent sources of inaccurate register. These may be to some extent unavoidable and therefore beyond the printer’s control, but there are numerous other points which have an important bearing upon the accurate fitting of one colour or forme with another, and therefore require care and attention. The following method of procedure is well worth consideration, as it has decided advantages over many others.
The key, or outline forme, to which the colour formes have been set up, is put into the machine at the beginning of the printing operations. The exact position of the design on the sheet is arranged, and twenty or thirty impressions taken on a reliable paper. With these impressions as a guide it is a comparatively easy matter to register each colour accurately. This effects a saving both in time and material, and rarely fails to produce satisfactory results. During the early stages of the printing, when it is difficult to detect any[42] slight movement of the stone in the machine, a sheet bearing an impression of the key may be printed in the usual way, when any variation in register will be revealed at a glance. The relative positions of the side lay and gripper seldom receive the consideration they ought to have. The gripper and side lay should be exactly at right angles to each other, and any divergence whatever from this rule simply courts disaster. If they form an acute angle there is a danger of the sheet moving forward a little as the gripper closes. If, on the other hand, they are fixed at an obtuse angle, there is a proportionate risk of the sheet falling back as the gripper closes. If any degree of uniformity could be guaranteed in these movements, then all would still be well, but unfortunately no such guarantee can be given, owing to a possible variation in the cutting of different batches of paper.
Another matter of a similar character and quite as important in its issues is more directly connected with the gripper.
The type of gripper shown in Fig. 18 is probably the best for general use. It enables the printer to use two or more pins upon which to rest his sheet, according to the particular requirements of his work. Two pins are usually[43] sufficient and answer best, for the following reasons. It is by no means unusual to find that the paper, trimmed though it may be, has slightly convex or concave edges, owing either to insufficient damping or an inaccurate setting of the knife in the guillotine cutting machine. This can, of course, be avoided, but the point at present under consideration is one of possible effects. This contingency and its effect are considerably exaggerated in Figs. 19A and 19B, but for purposes of illustration the suggestiveness of the two sketches is not at all too emphatic.
Start the machine with a light pressure, for once the stone is locked up a certain amount of danger will always exist if at any time it is necessary to reduce the pressure. The stone may still be held by the blocks, even after the bed of the machine has been lowered, only to come down with a snap when pressure is applied. Such a danger might, of course, be averted by slackening the screws and blocks; but then the stone would almost certainly move out of position and the registration of the forme be altered.
Narrow slips of paper folded two or three times, and inserted between the block and the stone, will often check any tendency the latter may have to lift when the screws are tightened.
Of the many annoyances associated with the lithographic machine printer’s work, grit is probably the most troublesome, inasmuch as its presence is almost imperceptible, while its effect is extensive and often disastrous. Its sharp grains become embedded in the inking-roller skins, and plough tiny[44] furrows across the printing forme, doing much damage before the printer realises the presence of any foreign matter on the inking-rollers. Prevention is a simple matter enough, but a cure is rarely, if ever, accomplished. Dust the rollers and examine them carefully before commencing operations, and in this way ensure perfect cleanliness. It may seem a trifle, but it is none the less an important one, and perhaps the[45] reader has already realised that “trifles make perfection, and perfection is no trifle.”
In making ready on a lithographic printing machine, as in almost every phase of industrial life, method is the great secret of success. Method conquers the most stubborn difficulties,[46] and, though it is not at all times profoundly interesting in its application, yet it more than repays any monotony it may involve. In the matter of lithographic printing, at any rate, a few methods of an essentially simple character might be cultivated with advantage. This chapter is not intended as a complete record of such methods, but a number of items are discussed herein which, though simple, are intensely practical, and likely to suggest more to the reader than is found described in the text.
The question of speed may sometimes seriously handicap progress. It is a self-evident fact that the solid impression of a heavy poster cannot be made at the same speed as a light tint in chromo work. Speed cones are usually fixed to a counter-shaft to regulate the speed of the machine as required. Figs. 20A and 20B show an improved arrangement of this character, in which tapering drums A A are substituted for cones, the belt being moved and held in any position by the screw and forks B and C. D is the driving pulley which transmits the power to the machine.
Electricity as a motive power for printing machinery is quietly yet irresistibly winning its way into general favour, and for very cogent reasons. It is the most convenient form of motive power, and can be transmitted for long distances without any appreciable loss. It takes up little space, and almost entirely dispenses with belts and shafting. It is also essentially economical, because it can be applied to the smallest press just as easily as to a 60' by 40' poster machine (Fig. 21).
As a commercial phase of lithographic printing, colour printing offers a vast and ever-widening field of usefulness. Nor is it altogether deficient in these artistic qualities which are pre-eminently suggestive, as well as attractive and artistic. Colour printing, in its application to lithography, is in many respects peculiar. It is not what might be described as a self-contained process; for its successful realisation depends as much upon the harmonious and skilful combination of colours in the design as upon the manipulation of the printing inks, the sequence of the colour formes, and their accurate fit or register during the actual printing. The most excellent printing would produce barely passable results unless the design was effectively arranged, and prepared with some consideration for the conditions under which it might be printed. Nor is it at all unlikely that a design, however smart and artistic it might appear in its original form, would be irretrievably spoiled by clumsy handling or careless printing. The subject for immediate consideration is the practical employment of printing inks for the reproduction of coloured designs, their qualities, peculiarities, and relative values, as well as the means employed to make them amenable to commercial conditions. An intelligent appreciation of these points will not only extend the possibilities of printing inks,[48] but will also enable the machineman to accentuate their attractive and suggestive power.
“Colour is to design what salt is to food,” and successful colour printing has been very aptly described as the adaptation of printing ink to the ever-varying character of work and conditions of employment. This very practical definition will form the keynote of a chapter which, by the very nature of things, must be to some extent authoritative and comprehensive. The colour sequence, i.e. the order in which the colours must be employed to secure the best and most economical results, is of primary importance in colour printing. On broad lines, the principle usually followed is one in which the opaque colours are printed first, and upon these all secondary effects are built up. This building up of colours plays also a most important part. Its relation to colour sequence is a necessary and influential one. For example, it might not be absolutely essential that even a yellow should be printed first, if it did not form the base for the building up of a green by the super-position of blues, of an orange effect in conjunction with red, or as a secondary flesh tone under the buff.
The difference between printing a blue over a red or vice versâ is also very striking. One produces a purplish-black brown, and the other a rich chocolate-brown. Other complications of a similar character are common, but these will indicate with sufficient clearness the possible modifications of colour sequence.
Another feature upon which colour sequence in printing largely depends is the point at which the outline forme can be most effectively introduced. It is advisable to print the outline forme at as early a stage as possible for obvious reasons. Perfect registration is far from easy to secure. Red in the lips, blues in the eyes, and isolated touches of colour in various parts of the design must fit the browns, and[49] therefore fit each other, and yet they may have no direct relation to each other in the printing. A remedy has been already suggested, but once an outline forme is printed the cause of bad registration is to some extent removed, and a remedy quite unnecessary. When worked on reasonable lines it is frequently an advantage to make the outline one of the earlier printings, so that any harshness of contour, etc., may be toned down by the succeeding greys. It is often a matter of personal opinion, or perhaps of circumstance, which decides the final printings. The pink may be reserved to impart brilliancy and warmth to the prints, or it may be equally suitable to hold back a grey, and, by regulating its tone and strength, soften down any tendency to hardness, pick out the darker prints, and emphasise the shadows. Even these suggestions, although usually regarded as standard ideas, must be subjected to modifications under certain conditions.
Here is a practical instance. Unless paper is unusually well seasoned and of first-rate quality, the temperature of the workroom equable, and the printing machine in good order—a combination of excellences which is unfortunately rarely met with—the colour sequence must be of a fairly elastic nature. To print a gold first is quite usual, because the bronze powder will persistently adhere to any preceding printings. From that standpoint alone such a procedure would be eminently practical and convenient, but suppose for a moment that the gold must fit a later printing with absolute accuracy, e.g. an outline forme, or as forming the base for some ornamental scheme, then the difficulties which arise are somewhat trying, and for this reason. The paper being new, the most serious distortion of any kind is likely to occur during the first printings, and so long as yellows, fleshes, or other colours of a similar character are printed first, no serious difficulty is likely to arise; but with the gold printing it may be[50] altogether different. It is quite possible to make both yellow and flesh dry dead, i.e. without even sufficient tack to catch the almost impalpable bronze powder. At the same time, care must be exercised that the colouring matter is not left dry on the surface of the paper owing to its separation from the reducing medium. This plan has been adopted under actual commercial conditions and with conspicuous success, and it is therefore offered as a preventive measure which is free from many drawbacks which are the frequent accompaniment of novel ideas and operations. Here then is a simple practical summary of the idea. The yellow and flesh, or equivalent colours, are printed first, so that they will dry free from gloss or tack. The fit required between such colours and subsequent printings is generally a matter of minor importance, and at this stage distortion of the paper, whether it be by stretching or contracting, will not seriously depreciate the value of the print when completed. Register between the gold and an outline is frequently of an entirely different character, and in many cases the slightest variation will be readily discernible, and have a decidedly bad effect on the finished work. Apart from this, the questions which decide or control the colour sequence have been clearly indicated previously.
This matter may be one of convenience also, for unless otherwise predetermined it would be unwise and far from economical to print a blue before a yellow, or a black before a red, etc. The amount of cleaning up thereby involved would become a serious and distinctly disagreeable item, and purity of tone in the lighter colours would be conspicuous by its absence.
The matter of well seasoned printing paper has been already referred to. For effective colour printing the paper must also possess several other essential qualities. It should be firm in substance, sufficiently absorbent to carry the[51] successive layers of printing ink, as far as possible unstretchable, and should present a smooth surface though not a glazed one. The chalky, dull, enamelled papers offer many recognised features of value to the colour printer. They assist in the absorption of the ink as well as afford a suitable surface for their impression. Friction-glazed and other prepared papers are also excellent for colour printing by lithographic methods.
For the successful manipulation of printing inks of any description it will be necessary to know something of their composition, or at any rate of such features as render them peculiarly suitable for printing purposes. From a printer’s point of view the most important of these features is what may be described as the reducing medium, i.e. the medium which holds together the various colours so as to produce pigments of suitable working consistency. The most useful and the commonest form of reducing medium is a linseed oil product, known in its prepared state as a lithographic varnish, with a supplementary title indicating its specific character. Its value to the lithographic printer lies mainly in the fact that when it is fully matured it possesses a good full body along with fair drying properties and freedom from any excess of greasy matter. This varnish is used in three or four consistencies between which any degree of strength may be arranged by mixing. A brief outline of the manner in which they are prepared may still further emphasise their usefulness in lithographic printing.
Raw linseed oil is matured and oxidised until its consistency is considerably reduced. It is still further reduced by being boiled at a high temperature, and is known commercially[53] as “boiled linseed oil.” As this boiling is continued the fumes which quickly rise can be ignited, and the liquid soon assumes a syrupy or stringy character, according to the length of time during which it is subjected to the action of fire. By extending or discontinuing the burning the varnish is produced in three grades—thin, medium, or strong.
Lithographic varnish is a good servant but a bad master, and it is a generally recognised fact that, beyond a certain point, lithographic varnishes as a reducing medium will depreciate the value of colour.
The chief requisite in colour printing is the production of a solid flat impression, and for this purpose almost all printing inks must be reduced to a suitable working consistency. To accomplish this, and at the same time retain the full colour strength of printing ink, a soft, free-working composition will be useful and desirable.
There are several commercial varieties of solid oil from which the excess of grease has been extracted. These form excellent reducing mediums. They break down the tack of stiff pigments and enable them to work freely during the printing operations. The drying of inks thus prepared is not seriously retarded; they lift readily and usually produce brilliant impressions. There is a reasonable and logical explanation of these peculiarities which is both interesting and suggestive. Whatever the character of a reducing medium may be, its effect on the strength of colour will of course be in proportion to the quantity used. In all probability 1 oz. of a solid oil composition, otherwise known as lithographic reducing medium, would soften down a quantity of printing ink for which at least three times its bulk of varnish would be required. Consequently, the depth of colour and covering power of an ink reduced with “litho medium” would be proportionately greater than that reduced[54] with varnish. Vaseline in some of its commercial forms is frequently used by American printers, and even in this country its use is being tardily, though none the less surely, recognised.
A few remarks anent the intelligent application of a softening medium may not be inopportune. Considerable care and judgment must always be exercised or there will be a loss of cohesion in the colour pigments which cannot fail to prove disastrous. The tendency of lithographic varnish is to bind the colour pigments together, and this should not be entirely counteracted by the addition of fatty compositions, lest the printing inks run “scummy” during printing operations, and in drying leave the colouring matter, from which they have been detached, on the surface of the paper in the form of a dry powder.
Such lack of cohesion may, however, be an inherent feature of the ink itself, and not be produced in the manner just indicated. Bronze blue affords a striking example of a printing ink of this character. It is, in fact, a “constitutional weakness” which cannot apparently be prevented, but which is fortunately not incurable. The addition of a little Canada balsam to bronze-blue ink will add considerably to its working qualities. The loose particles of the pigment appear to be held together without becoming harsh or stringy, as might easily happen if varnish of sufficient strength was added to produce the same effect.
Other colours, again, such as vermilion and yellow, owing to their weight and texture, will always require a fair percentage of varnish in their composition. At the same time, a little reducing medium might also prove beneficial. Referring once more to the fact that vermilion, as distinguished from its imitation, is unusually heavy, etc., it may be useful to know that for “blocking out” work it has no equal in all the range of printing inks. It possesses unrivalled opacity,[55] and as a “blocking-out” agent frequently plays an important part in colour printing.
Of the other printing inks, few possess characteristics of a sufficiently striking character to require special mention. Their working qualities present no exceptional difficulties, and their employment either under primary or secondary conditions is almost invariably determined either by the character of the work or some such conditions as have been already indicated.
When the strength of a colour is problematical, or its effect more or less a question of experiment, it is a safe plan to mix it a little lighter than will be required. For obvious reasons it is much easier to alter the line or tone of a light colour than that of a darker one.
The arrangements for extensive and economical ink mixing need not be of a very elaborate character. Standard colours might with advantage be mixed in large quantities and kept as stock shades. Fleshes, pink, blues, greys, etc., are all useful colours which are in constant use. A warm or cold tone could be imparted to a stock grey as required, and a similar method adopted with regard to the other colours. Other peculiar conditions could be met in a similar manner, and many economies thereby effected.
Although the foregoing remarks refer mainly to lithographic colour printing generally, they may with equal effect be applied to many of its more specific branches.
Colour printing for tin-plate decoration will be fully discussed in a subsequent chapter.
Transfer printing for ceramic decoration presents many features in common with transfer printing for metal decoration. Printing colour transparencies is a commercial phase of colour work which is productive of many curious and attractive effects. Unlike the ordinary colour prints, the transparency is intended for exhibition both by reflected and transmitted[56] light. The paper is of a thin, tough quality, and the first printing is usually a white of good covering power and exceptional opacity. It is not necessary to print a solid white groundwork for the coloured design. If an intense brilliant colour is required by transmitted light the omission of part of the white printing will add considerably to the effective character of the design. A brilliancy secured in such a manner may be still further intensified by printing the colour or colours in register on both sides of the paper. This can be easily accomplished by first allowing the cylinder covering to take an impression from the stone, and then, with the sheet laid in the gripper, make a second impression in the usual way immediately after.
The first print, which might be termed the transfer, will then be made in accurate register on the back of the sheet.
Semi-transparent, or even transparent, effects can be obtained with any of the colours by an omission of the white printing from the parts affected. Complete opacity may be secured by its introduction.
This print is afterwards rendered more or less transparent by coating it with a suitable varnish.
Metal plate, as a substitute for stone, is now such an important factor in lithography that the printer who wishes to consider himself thoroughly efficient must possess a fairly comprehensive and practical knowledge of its manipulation and possibilities.
The prejudice which has hitherto checked the progress of this branch of lithography was not altogether of an unreasonable character. The plates themselves were far from reliable, and the difficulties resulting therefrom were a fruitful source of trouble and expense.
Metal, as a printing surface, is even yet a comparatively new factor in lithography, and the majority of printers have been working with lithographic stones from their apprenticeship till the present time. It is not surprising, therefore, that in relation to the use of stones almost every possible contingency has been provided for, but with metal plates a little fresh knowledge must necessarily be acquired before the workman can claim the same familiarity of manipulation which he may feel towards the parent process. This is, in fact, the point upon which the whole question usually turns. Good work can be produced from zinc and aluminium plates,—of that there is not the slightest doubt,—and it is equally certain that the advantages offered by their use are of a substantially[58] practical character. They can be handled with ease and with absolutely no fear of breaking. They are much less costly than stone, and require less storage room.
A grain of a finer and sharper texture can be imparted to metal than is the case with stone, and what is even of greater importance, the character of such a grain remains unaffected for a considerable time. Surface inequalities are rarely met with in metal printing surfaces, and consequently uniform pressure is to a certain extent guaranteed. In photo-lithography it is possible to make a print from a negative direct on to the plate (Chap. XVII. page 100). This ensures an original of exceptional clearness and strength, especially in half-tone subjects.
Although an ordinary zinc plate, which has been carefully polished to free it from every trace of grease, can be used for lithographic printing, the best results are obtained from plates which have been specially prepared. A slight de-polishing with pumice sand and a piece of felt may impart the requisite “tooth” to the face of the plate, or the following method may be adopted:—Clean the plate with pumice sand and felt, and immediately immerse it in a hot bath containing:—
Keep this liquid in constant motion over the face of the plate until it assumes an even, silvery-grey appearance, and then wash it thoroughly with a plentiful supply of clean water. Dry at once, and quickly.
These plates can also be sand-grained by specially constructed machinery, or a variety of grains and stipple can be imparted to their surface by etching or sand blast.
A novel yet practical idea, which has met with considerable success, is to electrolytically prepare the surface of the plates. The value of this preparation has been amply demonstrated[59] by its extensive adoption and successful use. Another distinctly progressive feature is a deposit of alumina on the zinc, which for printing purposes gives it all the advantages of an aluminium plate.
Transfers can be made on metal plates in much the same manner as on lithographic stones. For press work mount the plate on a piece of cardboard its own size, then, having gummed a sheet of brown paper on the face of the litho-stone, place the mounted plate near the centre and fasten it with paste or gum. This will prevent it moving about, and also raise it sufficiently from the stone to enable the printer to use his damping-cloth and roller freely.[60] Before mounting, the back of the plate should be carefully dusted to free it from grit and dirt.
After the drawing or transfer has been made cover the surface of the plate with strong gum, and while this is still wet add to it a solution of bichromate of potash. Leave a slight film only of the gum bichromate, and then dry it quickly and thoroughly. Wash out the work with turpentine, not with water. The gum, being insoluble in turpentine, remains unaffected.
Roll the plate up solid in black ink, sponge it over with water, damp it with a cloth, and then roll it up in the usual way. When the work becomes fully charged with ink, dust it over with a mixture of resin and French chalk, and etch it with the acid etching solution.
Every maker of zinc and aluminium plates supplies this special etching solution, prepared for a certain quality and character of metal. It is advisable, therefore, to use the preparation recommended, and thus avoid the many pitfalls which beset the path of the experimentalist.
“The plate is now well washed over with clean water, and thinly gummed up. When the gum is dry wash out the work on the top of the gum with dry flannel or felt till all the work is removed, sprinkle a few drops of water on the plate, and with a rubbing-up rag and a little ink and turps rub up the work till it is gently charged with ink, then roll up till work or transfer looks strong and sharp, when the plate is ready for printing.”
For etching and rolling up chalk drawings on grained plates: “Pour in a saucer some of the etching solution, and add about the same quantity of fresh, strong gum. This solution is evenly distributed all over the plate with a camel-hair brush, and left to dry. Then the etching is removed with water, and the plate very thinly gummed up and left to dry. Now the work is washed out with turps and a piece of dry, soft felt or flannel, without water, till all the work disappears, and the plate rolled up solid black. Then sponge over with water-sponge, damp over and roll up till work appears nice and sharp. Now dust over with resin and French chalk, and etch again with the etching solution, full strength. After the etching has dried remove the same with water, and gum up again.
“When drawings are to be washed out for proofing or printing, the plate should first be thinly gummed up. This gum layer is left to dry thoroughly, and is not removed when the work is washed out (without water) with turps and a dry piece of flannel or felt. Next wipe away all the black ink and turps, still using no water for this operation. Should any black work be left, use some more turps on[62] the clean dry rag till all the work has been removed, then sprinkle a few drops of water on the plate, and use a clean rag to remove the gum layer and loose black ink left on the plate, then damp over as usual and roll up.
“Plates treated in this way retain the grease contained in the drawing, and the work rolls up easier and quicker, and none of the finer work gets weakened or lost; also, the plate keeps cleaner and free from scum.
“When alterations are necessary the work should be rolled up with a strong black ink, and dusted over with French chalk (powdered talc). Remove the part which requires altering with a mixture of equal parts etching solution and turpentine on a small piece of felt or flannel, and rinse well with water. Pour some special re-preparing solution in a saucer, and apply this solution with a camel-hair brush to the parts where the work has been removed; after the solution has remained for a few seconds rinse well with water. This operation is to be repeated several times till the surface looks clean, no work being visible; and after the plate is dried with clean white blotting paper it is ready to receive the additional work. When the alteration has been made, the rolling up should be done with the bichromate solution, as per general directions.
“Where the alterations involve additional work only without erasures roll up the design first with a good,[65] strong ink, and dust over with French chalk. The special re-preparing solution is used in the same manner as acetic or citric acid is employed on a litho-stone. For this purpose we recommend that the special solution should be diluted with an equal quantity of clean water, and the solution applied with a camel-hair brush. It should remain on for a few seconds, and then be quickly rinsed with clean water. This operation may with advantage be repeated two or three times for securing a clean surface for the additional work. When the plate has been thoroughly dried with clean blotting paper it is ready to receive the additional work. The rolling up should be done with the bichromate solution, as per general directions.”
Machine printing from zinc or aluminium plates requires but a slight modification of well-known methods; and although it may in some respects present entirely new features, the making ready of work in which several printings are employed is simplified, and consequently much time is saved. In the ordinary type of litho-printing machine the printing bed (Fig. 22) is levelled in the machine for the first printing, and, if this is carefully arranged, no alteration will be required throughout the whole series; for, in changing from one colour to another, the printing plate can be slipped from the bed and another substituted in a very few minutes. The most scrupulous care should be exercised at all times to prevent dirt or grit of any kind insinuating itself between the surface of the printing bed and the back of the plate.
It is not in connection with the flat-bed printing machine, however, that the most decided progress is likely to be made in surface printing from metal plates. “The change which is already foreshadowed in the printing mechanism of to-day is shown by the growing demand for the rotary in place of the slow and tedious movements of the flat-bed press.”
The mechanical principle of the rotary machine (Fig. 23) at once suggests an absolute precision of movement which it is scarcely possible to guarantee in the flat-bed press. There is no appreciable lift in the gearing of the cylinders when the impression is made, and practically no risk whatever of slogger, such as that described in Chap. VII. page 38. The uniform velocity of the cylinders, which is to a great extent due to the points already indicated, considerably reduces friction, produces perfect registration, and enables the machine to be worked at a high rate of speed. The machine shown on page 63 presents many novel and essentially practical features. The side elevation (Fig. 24) gives a fairly accurate idea of its general mechanical principles.
Tin-plate printing or decoration is probably the most remarkable development of modern lithography. From a most unpretentious and unpromising beginning its evolution has been an unbroken record of phenomenal progress. Owing to its intrinsic merits and peculiarly assertive character it has created an enormous demand for its own productions.
Difficulties innumerable were encountered and surmounted, whilst a whole host of trade prejudices had to be removed before anything approaching a commercial success could be claimed. The original idea was to transfer a printed design from a suitably prepared paper to the metal plates in much the same manner as the children of to-day use transfer prints for decorative and other purposes. Though this method is now to some extent superseded, it is by no means obsolete. It is extensively used for certain classes of work, and so long as the present type of direct tin-printing machine is used this transfer method of metal decoration will more or less be retained.
It is difficult, and in some cases impossible, to print unusually large or exceptionally thick metal plates by the direct process. Hence the value of Transfer Printing as a useful auxiliary process which can be resorted to without[68] the expense of special machinery. The ordinary lithographic paper-printing machine, without any modification whatever, will fulfil every requirement.
Almost any paper which has been coated with a starchy composition will be suitable for Transfer Printing. Though not absolutely essential, it is decidedly an advantage to use a paper which is somewhat porous, not too hard. A brief description of the principles involved will probably lead to a clearer understanding of the points already indicated.
The print is made on the starchy composition with which the paper is coated, and never actually penetrates to the paper itself. This composition, being readily soluble in water, can be transferred from its paper base to any other surface, and will carry with it any print or impression previously made thereupon. In theory, then, this process is exceedingly simple, nor is it likely to present any insuperable difficulties in practice.
One of the most important features of Transfer Printing, which affects not only the colour sequence but the draughtsmanship, is the inversion of the design when printed. To the printer who is accustomed to chromo work on paper, this matter will probably offer many awkward situations. The control over colour effects is somewhat restricted, and consequently not only care and skill, but a certain amount of special training and actual experience, will be necessary for the production of really successful work. In theory the outline forme should be printed first, but in practice it is frequently advantageous to introduce some of the transparent tints as first printings. In the first place, such prints rarely affect the design to any great extent as far as register or fit is concerned. Consequently, any distortion of the paper from atmospheric or other causes has no very serious consequences, and such distortion, i.e. expansion or contraction, would be most likely to occur during the initial[69] printings. There is yet another and equally important reason for this suggested modification of the colour sequence. The light, tacky tints considerably improve the printing surface offered by the mucilaginous coating of the paper, and the stronger inks can be printed on it with a full body of colour yet without any tendency to smash and smear. The lighter tints, then, are printed first, and these are followed by the opaque colours, reds and yellows being last. The peculiar feature of such an arrangement is that, after the first few printings, the design becomes partly obscured, and the relative value of different colours, together with the effect of their super-position, are frequently questions of skilful calculation rather than visual appreciation. Thus successful manipulation is therefore more or less the result of careful observation and wide experience. In certain classes of work it may, of course, be absolutely essential to ascertain the effects of colours as they are printed. This can be done by transferring a progressive print to a sheet of dull enamel surface paper, using gum water as a transferring medium. In all work where specific colour effects are required it will be advisable to make such test transfers again and again at different stages of the work.
Concerning the printing inks themselves but little need be said. They must be of good quality, varnishable, and of intense colouring power. Purity of tone is requisite, not only under ordinary circumstances, but under what may be regarded as exceptional conditions. The print, when subsequently transferred to the metal plate, will be placed in a stove having a temperature of 140° Fahr. Few colours remain quite unaffected by this stoving, but with carefully selected printing inks the effect is scarcely perceptible. It can, moreover, usually be anticipated, and to some extent minimised, either by judicious super-position or skilful preparation of the colours themselves before printing. The following[70] example will suggest a number of expedients for the preservation of tone of colour in tin-plate decoration.
Pale blues will frequently become of a decidedly greenish hue when varnished or stoved, and this may be modified by an exaggerated intensity of colour, even to hardness, when printing. At the same time, it must be remembered that “blues” are seldom, if ever, affected in tone. Pinks of the lighter shades, on the other hand, may suffer both in hue and tone. “Reds” may be mixed with a more liberal amount of “lake” than they apparently need, and then backed up with solid masses of “yellow” and “flesh.” These will restore the bright vermilion hue, and likewise give a greater amount of density or covering power to the colour. Black, in the same manner, may be intensified by an underlay of blue. As far as purity and density are concerned, the “white” printing is by far the most important. The primary function of this printing in tin-plate decoration is the formation of an opaque ground on the metal plate—equivalent to the white paper. Without it the colours of a design would lose their brilliancy and effect, for their purity and density would be affected by the lustrous sheen of the bright metal plate.
It is a printing, then, of some, importance, and the most scrupulous care should be exercised during its manipulation. In consequence of the exceptional density required it is usual to repeat the “white” printing either two or three times. The first printing especially should be made with a smooth, well-mixed ink, which should be worked with the intention of securing a perfectly flat and solid impression rather than a heavy body of colour. The requisite amount of density can be obtained by the second or third impressions.
A slight tinge of “Oriental blue” given to the “white” will improve its appearance and counteract the discoloration produced by the varnishing and stoving.
Another point with which the average printer is not[71] familiar is the unusually rapid drying of each colour. The printing inks must dry on the surface, and not even in the slightest degree be allowed to permeate the paper. This is, in fact, the crux of the whole matter; and, assuming that the coating of the paper is suitable and perfect, the drying cannot be otherwise than on the surface. Dryers, preferably liquid, must be mixed with the printing inks in liberal quantities. Here, again, experience alone can be relied upon for guidance. Printing inks have their peculiar characteristics, and atmospheric conditions are ever varying. It would therefore be unwise to indicate any hard-and-fast lines upon which to work. There is at least one danger accompanying the use of dryers in any form which must not be overlooked. Colours may dry too hard and present for the succeeding printings a surface similar to a varnished sheet, which will offer no grip to the printing ink, and upon which it will probably run, and, consequently, produce a defective impression. This is by no means an infrequent occurrence. Experience alone can prevent it, but the remedy is as simple as it is effective. Briskly rub each printed sheet with a pad of soft rag and a little magnesia or French chalk. Magnesia is best. It is an almost impalpable powder, and has no ill effect even upon the most delicate tints. This rubbing will produce a slightly matt surface on the hard glossy ink, and on this a good solid impression may be made without further trouble.
The printed sheets should be exposed to the air for a few hours to accelerate drying. This may be done in any convenient manner, either by laying them out in frames or hanging them up. A “set off” in Transfer Printing should be sedulously avoided; not that the soiling of the back of a sheet is of any moment, but because the matter set off on the back of one sheet must be pulled off the face of another, and that very often in liberal proportions.
“Direct tin printing” is not, as the term might suggest, a direct impression of the printing forme on the metal plate. It is in reality a transfer printing process in which the transferring medium is a cylinder with an elastic covering. This additional cylinder is one of the chief characteristics of a direct tin-printing machine, and, apart from a few accessory movements, it is in this respect alone that it differs from an ordinary lithographic printing machine. Fig. 25 gives a sufficiently clear idea of this distinguishing feature. A detailed description of its mechanical principles is unnecessary, but the following points will prove helpful.
The impression is made from the printing forme upon the lower cylinder during the first half of its revolution, and transferred to the metal plate, which is carried by the upper cylinder as the revolution is completed. The reciprocal movement of these two cylinders is therefore a matter which demands the keenest possible attention. Their pitch must be absolutely accurate, the pressure of one against the other nicely adjusted, and the brake arrangement on both such as to ensure a perfectly steady revolution.
The lower cylinder is covered with a three-ply rubber blanket, which provides a sufficiently elastic impression surface.
This rubber covering is a most important feature, and requires both careful adjustment and intelligent use. Careful adjustment is requisite to ensure the tension being perfectly uniform over the whole surface, when the material is drawn taut by means of a tooth-and-ratchet arrangement. Were it not so, the printing surface presented would naturally vary in thickness and resilience, in consequence of which the pressure would be variable and the impression distorted.
A most remarkable peculiarity of this rubber covering is that it has a very decided influence upon the size of the impression. If, for example, its pressure upon the printing forme is increased, the impression will be slightly less than the work on the stone, whilst a lighter pressure will of course produce the opposite effect. It is advisable, therefore, when making a first impression, to measure it from back to front and compare it with the printing forme. This method will ensure a print of the exact size, and avoid any risk of complications in the subsequent printings. Such distortion—for a distortion it really is—may frequently be turned to good account, and under certain conditions it may prove to be a help rather than a hindrance. Some slight inaccuracy in the fitting of any part of the design may occasionally be corrected by inserting patches of thin paper under the cylinder covering, so as to almost imperceptibly increase the pressure over the required area. This idea in its application to “making ready” at a tin-printing machine will suggest many possibilities to the resourceful printer, and if intelligently treated will rarely prove troublesome. In a lesser degree the same system of packing may be applied to the upper cylinder, and the size of the impression to some extent controlled during its transference to the metal plate. The speed of the machine also affects the impression, and in a somewhat peculiar manner. Several theories have been set forth to prove why an increase in speed should produce a slight[76] enlargement of the impression, and vice versâ; but it is doubtful if any of them are altogether satisfactory. Most probably it is due to a momentary change in the resilience of the rubber. The character of the pressure, which is certainly influenced by increasing or diminishing the speed, would of course effect such a change. The effect, as just indicated, is, however, only perceptible when a very pronounced variation in the speed takes place. A rubber blanket is also affected in a somewhat similar manner by atmospheric changes, though not appreciably by moisture.
One other point in connection with the cylinder covering is worth noting. Whenever it is necessary to remove the impression from the blanket,—and the necessity may arise many times during the course of a day’s run,—let it be done with turpentine or benzole, and as rapidly as possible. After the superfluous turpentine or other cleanser has been wiped off, dust over the blanket with French chalk. This will completely absorb any of the cleanser which may have permeated the rubber, and thus minimise any injurious effect.
Unlike the Transfer Process in Direct Printing, the colour sequence is practically the same as for paper printing. There are, of course, essential points of difference, and these may fitly mark the next stage of progress in the discussion of this subject. In the first place, a bright metal plate does not present an altogether suitable printing surface, and for several reasons. The sheen of such a plate will show through many of the printed colours with a dull metallic lustre. The surface, again, is hard and excessively smooth, or, as it is sometimes expressively described, without tooth. As can easily be seen, this is far from an ideal printing surface.
White also plays a prominent and effective part in many designs, and is frequently indispensable. Its presence, when necessary in Direct Tin Printing, must therefore be arranged for in some form or other. One white printing is[77] seldom sufficient to produce a perfectly clean and solid ground. Two printings, or even three, may be necessary. Purity of tone is a most important point, and therefore a pigment should be chosen which will not only remain unchanged by its contact with the metal, but which will be unaffected by the heat applied during stoving. The appearance of this white may be improved by the addition of blue, as in Transfer Printing (p. 70), and here also the smallest possible quantity will be sufficient.
Gold Lacquer Printing is peculiar to Tin-plate Decoration, and its advent indicated a vast progress in artistic display and effect.
Printing lacquer is a transparent pigment of about the same consistency and character as printing ink. It is usually prepared in three shades of colour—red, citron or orange, and pale gold. A combination of these in suitable proportions will produce almost any strength or shade of gold which may be required. Except as regards their unusually brilliant transparency, these lacquers much resemble yellow lakes, and in paper printing might even be used as economical substitutes for the more expensive pigments. This, however, is only a suggestion, and has little if any practical bearing upon their application to Tin-plate Printing, where they completely transform the bright sheen of the highly polished metal plate into a brilliant and most effective gold. Gold lacquer is an exceptional pigment in many respects. It works exceedingly well, and gives a sharp, flat impression where most other pigments would fail. It also has the power of conveying many of its own good qualities to any printing ink with which it may be incorporated.
In Transfer Printing the question of rapid drying is very important, and in Direct Tin Printing it is even more so. Arrangements of a somewhat extensive character must be made for the reception of metal plates immediately after[78] printing, so that the air may freely circulate about them, and thus assist in the drying. The room in which the printing sheets are thus stored must be free from dust, for it will readily adhere to the tacky printing ink, and afterwards prove a source of endless trouble.
Drying racks of various descriptions are used for the storage of printed metal plates. One of the best is constructed on the lines shown in Fig. 26. The shelves A A are adjustable so as to carry plates of different sizes. The printed sheets are set up on end in the grooves B B, and by arranging them back to back in pairs a large number can be accommodated without hindering the drying. Other types of drying racks are shown in the sectional drawings (Figs. 27A and 27B).
The question of air-drying versus stoving has ever been a contentious one, and admits of considerable diversity of opinion. Air-drying is preferable where convenient. It is much more economical than stoving, of course; but, on the[79] other hand, it might be a better plan to stove a printing than to wait, perhaps for some hours, until it dried naturally. With some printing inks and under certain climatic conditions both may be necessary, so it is almost impossible to lay down any hard-and-fast rules as to the adoption of either plan.
Some knowledge of their respective disadvantage should be acquired, however, in order to avoid, or at least minimise, them.
Take, for instance, a course of eight printings, each one absolutely necessary to the design, and each one to be dried by stoving. It is only reasonable to suppose that the first and second printings will be seriously affected by the subsequent stovings. They will undoubtedly harden to such an extent as to render the super-position of other colours a difficult matter, and their purity of tone will most probably be affected. According to the same line of reasoning, some sheets would be more affected by the heat than others, owing to their position in the racks, the heat of stoves being greatest near the top.
Air-drying can only be accomplished by adding to the printing ink a proportion of some suitable drier. (See Transfer Printing, p. 71.) Naturally, it requires a much longer time, but it is equally effective, much less troublesome, and generally more satisfactory.
Fig. 28.—Convenient method of stacking decorated metal plates to distribute their weights and prevent injury.
It is usually and rightly supposed that the most effective results in Tin-plate Decoration are produced from designs which are lithographed for that specific purpose.
Designs which are specially arranged for Paper Printing can be used so long as the effect produced by the transposition from right to left does not affect its application, or render the same impossible. This, of course, applies more particularly to designs in which lettering appears, but at the same time it may affect designs of an essentially pictorial character in an equally important manner; for it must be remembered that a drawing for Tin-plate Printing must appear on the lithographic stone exactly as it is impressed on the metal, and not, as in Paper Printing, reversed from right to left. This naturally simplifies the drawing on stone, and to some extent enables the draughtsman to dispense with the reversing mirror when copying.
The primary object of this short chapter will be to point out some of the characteristic features of Tin-plate Decoration, so that such methods as are usually adopted by the artist and the printer may be modified or amplified to meet any peculiar requirements of work in hand.
A greater variety of effects can be attained on the[81] polished metal plate than it is at all possible to produce on paper.
A gold effect, the result of lacquer printing, is especially striking. In a similar manner an excellent translucent lustre can be imparted to almost any colour by taking away the white opaque ground, and thereby producing a peculiar semi-transparency which is both pleasing and effective. Lacquer printed over white produces a buff colour, which can be used as a second yellow or to form the base of a flesh. The colour of the lacquer is softer and less obtrusive when printed under instead of above the white. The super-position of colour generally, as described in Chap. XII. page 70, is peculiar to tin-plate printing, and suggests the advisability, if not the necessity, of a special design. The advantages of such super-position are obvious and substantial. Under ordinary commercial conditions it is almost impossible in tin printing to obtain the same intensity of tones in the printed colours as in paper printing. Some such strengthener as the super-position of suitable colours is therefore necessary. The work of the lithographic draughtsman is in this respect of a somewhat unusual character; but a little intelligent consideration will render its execution on these lines comparatively easy and satisfactory.
As already stated, yellows can be accentuated by a super-position of lacquer, and in the same manner blues and greys add intensity to black. Red can be strengthened by a foundation of lacquer, also flesh and yellow, either singly or in combination. The drawing of lacquer and white formes should receive the most careful attention. They should fit each other accurately, even to the most minute details; for the slightest overlapping will be revealed by the presence of a very assertive buff colour, while any deficiency in combination will leave a not less striking margin of bright tin exposed.
In some instances it might be an advantage to transfer one forme from black to white to produce the opposite colour, and thus ensure perfect register.
In decorative designs particularly, tin-plate printing suggests almost unlimited possibilities for brilliant effects, and in this respect it offers fair latitude for individual originality and manipulative skill. In the production of show tablets especially, considerable attention has been given to embossing, in order to suggest and represent relief. Though not actually produced by the artist, this is in effect part of the scheme or plan of his design, and will consequently influence his work to some extent. For simple ornamentation only, metal embossing presents little that is new or novel; but for the production of relief effects in the pictorial elements of a design its application becomes a more important and influential matter. By its aid a flat and otherwise uninteresting subject can be made attractive and vigorous, and for general purposes of effective display its value will be considerably enhanced and its assertive character emphasised.
Without entering too minutely into matters which affect the lithographic printer in an indirect fashion only, it will yet be useful to him to know how an embossing die is produced which registers accurately with the design to be operated on. A black impression of the outline forme of the design is made on transfer paper similar to that described in Chap. XII. page 68, and re-transferred, by pressure only, to another sheet of the same paper. The re-transfer is to be the impression required, and this in its turn is re-transferred again to a prepared brass plate. The only preparation necessary is the levelling and planing of the plate, and, if desired, it can be coated with a thin layer of white paint or enamel. This white ground makes the work easier, by rendering the impression more distinct. With such a guide as this the cutting or engraving is a comparatively simple matter.
The engraved plate is placed in a casting box, and a stereo-metal casting is made from it. A little trimming may be necessary for the completion of these two tools, and they will require to be suitably mounted, so that they may be accurately adjusted in the embossing press.
Metal embossing has certain limitations which must be recognised as an essential condition of its effective application.
The plates vary considerably in texture and temper, and the depth and character of relief will, to some extent at least, be controlled by the quality of the metal. Sharp lines and abrupt terminations impose a strain under which many plates split, therefore such features ought to be avoided. Easy, rounded lines, rather than those of the straight furrow description, produce the best results and give least trouble during operations. Where abrupt terminations are quite unavoidable the design should, if possible, be so arranged as to evade the super-position of colour over these parts.
Lacquer, if properly mixed and applied, is probably the toughest pigment used by the tin printer, and is generally suitable for embossed work. It prints an exceedingly thin layer or film on the face of the metal, which under average conditions rarely interferes with the working of the embossing tool.
One of the most promising features of lithography is its co-partnership with photography as a rapid and accurate method of reproduction. The resources offered by this combination are very extensive. For facsimile copying and proportionate enlargement or reduction photography stands unrivalled, and, although in certain phases it may be somewhat mechanical in its effects, its relation to lithography as a reproductive art is nevertheless of an intensely practical nature, and far from inartistic in character.
The first idea of inking up a photographic print so that it might be transferred to the lithographic stone was suggested in the simplest possible manner. A brief account of its inception will be instructive as well as interesting, inasmuch as it will lead to a clearer conception of the elementary principles involved.
During the early experiments in carbon printing it was discovered that a gelatinous film sensitised with certain bichromates could be charged with a coloured pigment, and a picture developed thereon. At first it was not realised that images produced by the action of the light on such a surface could be inked up with a greasy composition and afterwards transferred to the lithographic stone, but it was not long[85] before this important point became apparent. It was found that after exposure under the negative the transfer ink would only adhere to such portions of the gelatinous surface as had been acted upon by the light.
Photo-lithography will best be considered under two sections, namely:—
1. The direct process, in which the actual printing surface is prepared and exposed under the negative.
2. The transfer process, in which a gelatine-coated paper is sensitised in a solution of bichromate of potassium and the photographic print made upon it.
The direct process in its application to the lithographic stone is uncertain in its results. It is impossible to secure sufficiently close contact between the negative and the stone, particularly when large surfaces are under operation, and consequently the print is rarely if ever an unqualified success. The erasure of defective work is also a serious matter, and can only be effected by polishing and preparing the stone again.
In the transfer process absolutely close contact can be assured by the use of the transfer paper; and should the print from any cause whatever prove defective, another can be made immediately without any serious loss of time or material.
The successful application of the direct process to zinc and aluminium plates is, however, an accomplished fact. The metal plate is sufficiently elastic to adapt itself to any inequalities on the surface of the negative. Under such conditions as these this process offers at least one very important advantage. There is not the slightest possibility of distortion such as might occur in the development of a transfer. The metal plate also lends itself to easy manipulation.
Photo-lithography in line is simply the reproduction of line drawings or prints in which the design is represented in black and white with only such gradations as may be suggested by lines or dots.
Half-tone photo-lithography is the reproduction of a design or copy which has in its composition gradations of tone in the form of flat tints.
It is sometimes described as the translation of the graduated light and shade of the original copy into a surface which can be printed from by mechanical means, for which purpose the ink-bearing surface is broken up into the most minute sections, and thus forming an almost imperceptible grain. The first attempts to reproduce the half-tones of a copy, in the form of a grain consisting of minute dots of varying size and contiguity according to the gradation of tone required, were made with a screen of open textile fabric. This screen was placed between the lens and the sensitive plate, but the results were crude and unsatisfactory.
The invention of cross-lined screens, in which the lines were cut on glass and filled with black or other suitable colouring matter, was a decided advancement in the half-tone photo processes.
The “screeny” effect produced by the “unvarying uniformity of grain” in half-tone work is undoubtedly the chief drawback to its more extensive adoption for photo-lithography. Fine etching cannot be resorted to as in photo-engraving, neither is it possible, to emphasise effects by skilful overlay and underlay; consequently half-tone impressions from a lithographic stone are frequently disappointing. There are no insurmountable obstacles to hinder the production of excellent transfers, nor is it a difficult matter to transfer them to stone. The trouble is, as already pointed out, the unvarying uniformity of the grain.
This effect, or rather this lack of effect, has been to some extent overcome by the use of a “four-line” screen in lieu of the usual “crossed” screen, but even this is merely a remedy and not a cure.
It has been confidently asserted that the highest degree[87] of excellence in photo-process work will be attained by the adoption of what may be termed a natural grain. Several processes have been introduced which are undoubtedly based upon collotype methods in which a reticulated grain is produced more or less suitable for lithographic printing. Unlike the mechanical screen grain the texture of these processes reproduces the original copy with but little, if any, loss of expressive power. This is indeed a feature of considerable importance, and suggests many possibilities in the way of artistic reproduction.
To reproduce an old chalk drawing so that it might be successfully transferred to stone and printed in the usual way, would be practically impossible by any other process. In copying through a ruled screen many of the delicate contrasts of light and shade would be so reduced as to become almost valueless, consequently the print loses both in artistic and expressive power. In contradistinction to this a natural grain exhibits no harshness or indistinctness in the gradations of tone, and retains its clearness and sharpness throughout the printing operation.
Reverting again to the half-tone ruled screens, it may be well to state that small prints, being usually subjected to a closer inspection than large ones, must be reproduced with great attention to the finer details to ensure a certain amount of fidelity, and for this reason a screen with fine rulings must be employed. Naturally, stronger and more vigorous reproduction can be secured with the coarser rulings, but the screen effect will be too pronounced for close scrutiny.
There is still much to achieve in photo-lithography, and it is probably owing to a full recognition of this fact that the progressive character of the process is maintained. Its commercial value is undoubted, and its successful application is chiefly a question of how and where it can be most effectively introduced.
The essential features of photo-lithography are:—
1. A copy or original in which the modelling is well defined, and the light and shade well emphasised, even to a point of slight exaggeration.
2. A negative in which the whites of the original appear opaque, with clear glass to represent the lines and solids.
3. A print which can be developed or inked up with a pigment sufficiently greasy in nature to transfer to the lithographic stone.
It has already been pointed out that well-defined modelling is most desirable in the original copy. To secure this a considerable degree of artistic perception and discretion, as well as manipulative skill, is requisite. In photo-process work it is almost impossible to produce artistic effects from an indifferent or unsuitable copy.
Pen-and-ink sketches and wash drawings are entirely under the control of the artist, and characteristic effects are chiefly due to bold and vigorous conception and skilful drawing. Few photographs are suitable for photo-mechanical reproduction without some previous preparation. Accentuation or modulation of the high lights and shadows will in all probability be necessary to secure a sufficient contrast of light and shade. The middle tints may require but little attention, unless it be to work down any tendency to abruptness in the gradations of tone. A bold and well-defined silver print usually copies well when clamped between two pieces of glass to take out the grain, and photographed by artificial light.
Scraper boards offer most remarkable possibilities for black and white and half-tone sketches. A careful examination of Fig. 29 will serve to demonstrate their peculiar fitness for process drawing. A light wood pulp board forms a convenient[90] base upon which a thick coating of white composition is laid. Black ruled lines are printed on this surface, and lines of a similar texture are embossed at right angles to them. Some of the characteristic effects which can be produced on this board by the use of the crayon and scraper are suggested by Nos. 6 and 7, Fig. 30. No. 8 gives a stipple which is both printed and embossed. No. 9 is a plain board upon which pen-and-scraper effects alone are produced. Drawings in pen and ink, on Nos. 10 and 11 patterns, may be effectively handled by a free and skilful use of the scraper. Embossed lines only are the peculiar features of these boards, but variety of texture can be obtained by scraping these lines into dots.
Scraper board sketches almost invariably represent a maximum of effect with a minimum of work, and for this reason alone such an adaptable and simple medium should soon win its way into general favour.
Their merit, however, is not confined to this one point. They provide almost unrivalled copy for photo reproduction, and can therefore be applied to a variety of purposes. Even a cursory glance at the scraper board sketch on page 91 will reveal many points of interest and value which a more careful scrutiny can scarcely fail to emphasise.
Small patches of scraper boards can be introduced into process drawings of any description, and brilliant results be secured thereby. In such a manner clouds, waves, foliage, and a variety of other effects can be introduced.
Shading mediums are already well known to lithographers, yet it is doubtful if their usefulness for the amplification of sketches or process drawings is fully appreciated. They offer almost endless combinations of texture and tint, and are therefore most useful and valuable accessories in the hands of a resourceful artist.
Many artists favour crayon work on a grained paper, adopting[95] a broad sketchy treatment in liberal proportions, so that in the subsequent reduction the freedom of the original will be toned down just sufficiently to enhance the picturesque and artistic value. Drawings made on scraper boards, grained papers, or by the aid of shading mediums, are photographed and reproduced by the ordinary line method. In making sketches for “half-tone” photo-mechanical reproduction it must be remembered that, as far as photo-lithography is concerned, it is impossible to accentuate effects by what is known as “fine etching” when applied to photo-engraving. A negative for photo-process work of any description should be absolutely perfect in every respect. The whites of the copy in the negative should be of an absolutely opaque black, showing clean, sharp edges, with clear glass representing the lines, dots, etc. These are all-important factors, and their influence upon the reproduction of the original can scarcely be over-estimated.
To discuss the respective merits of the “wet” collodion, collodion emulsion, and dry-plate processes lies beyond the province of this work, as does also a detailed description of the operations involved.
The processes are purely photographic, and have already been presented to the craft in various forms. It is, moreover, almost impossible to bring within the limits of a single chapter anything approaching to a comprehensive record of the multitudinous details upon which process photography is based. All that can be attempted is to take one or two outstanding features which suggest a few useful hints.
The original or copy for reproduction must be on the same optical plane as the sensitive plate in the camera, i.e. they must be absolutely parallel with each other. There are several ways of ensuring this. The most convenient method is to use a copying table and board similar to Fig. 31. With such an arrangement as this direct copying can be attained through the lens, or the camera can be turned half-way round, and the image reversed by means of a mirror or prism attachment. The chief advantage of such an arrangement is, that the position of the camera can be altered at will without affecting the relative positions of the plate and copy.
Correct exposure and sufficient illumination of the copy are important factors in photographic reproductions of any kind, but they are of infinitely greater importance when applied to photo-process reproduction. One is, to a certain extent, dependent upon the other. The former must of necessity be controlled by the latter; yet no amount of exposure will compensate for defective illumination. Where artificial light is employed the advantage of using two lights is obviously great. Apart from the greater brilliancy and intensity of the light, the illumination of the copy is more evenly distributed. In scraper-board copies no shadows are thrown from the embossed dots or lines, and the granular texture of grained papers is almost entirely eliminated.
A bichromated, gelatine paper can be obtained by coating a hard writing paper of medium thickness with a gelatinous solution consisting of 1 oz. of gelatine and 1 oz. of water, and afterwards sensitising it with bichromate of potassium. It is advisable, however, to use the commercial varieties of coated paper, and to sensitise it as it is required.
The sensitising solution can be prepared by dissolving 1 oz. of bichromate of potassium in 20 fluid oz. of water. Add to this sufficient ammonia to give it a bright orange tinge. Keep this solution at a temperature of 60° Fahr., and float the paper on it for about one minute. Pin or clip the paper to a board or squeeze it to glass, and dry in a dark room.
Print this paper under the negative in a diffused light until the design appears in a rich golden-brown colour, when the exposure may be regarded as sufficient. The time allowed for such an exposure will, of course, vary according to the quality of the negative and the intensity of the light.
A development of the print may now be proceeded with in the following manner.
Thin down a little transfer ink with turpentine and[100] distribute it evenly on a composition roller. Roll up the print until it is completely covered with an exceedingly fine film of ink, after which allow the turpentine to evaporate. Immerse the transfer in tepid water for about 10 minutes, and then rub it gently with a piece of cotton lint previously soaked in water, until the superfluous ink is removed and the design stands out clean and sharp.
The transference of the print to stone can be accomplished in the usual lithographic manner. The chief points to be observed are, to allow sufficient time for printing, and to ink up the transfer with the thinnest possible film of ink.
A photo print can be made direct on the zinc or aluminium plate, and by a slight modification of the photo-engraving process it can be developed according to lithographic methods.
It is impossible to introduce an intermediate process without, in some manner at least, depreciating the quality of the work. In a direct photo print on zinc, or, in fact, on any suitable printing surface, the finer qualities of the work are much more likely to be retained than when a transfer print is made under the negative and afterwards transferred in the usual manner.
Coat a finely grained zinc plate with sensitised asphalt solution and expose it under a negative for about 4½ minutes in direct sunlight, and from 12 to 15 minutes in a diffused light. The action of light on the asphalt solution is to render it insoluble in turpentine, so that if a sufficiently exposed plate is immersed in pure turpentine the lines, etc., of the design, being of course represented by clear lines in the negative, will remain intact, while the surrounding portions will be dissolved and washed away. After development wash the plate freely in water, and dry it by fanning or with a pair of bellows. Let it stand for about 10 minutes and then slightly etch it with a very weak solution of nitric[101] acid. Cover the work with strong, fresh gum, and dry it thoroughly and quickly. Remove the gum and “rub up” the design with black ink in the usual way. Wash, dry, and dust over with French chalk. The plate can then be prepared in the manner described in Chap. XI. page 61.
Obvious punctuation errors were repaired.
Both “overestimate” and “over-estimated” appear in the original text.
The following additional corrections were made to the text. The first passage is the original passage, the second the corrected one.
End of the Project Gutenberg EBook of Practical Lithography, by Alfred Seymour
*** END OF THIS PROJECT GUTENBERG EBOOK PRACTICAL LITHOGRAPHY ***
***** This file should be named 40198-h.htm or 40198-h.zip *****
This and all associated files of various formats will be found in:
http://www.gutenberg.org/4/0/1/9/40198/
Produced by Chris Curnow, Rosanna Murphy and the Online
Distributed Proofreading Team at http://www.pgdp.net (This
file was produced from images generously made available
by The Internet Archive)
Updated editions will replace the previous one--the old editions
will be renamed.
Creating the works from public domain print editions means that no
one owns a United States copyright in these works, so the Foundation
(and you!) can copy and distribute it in the United States without
permission and without paying copyright royalties. Special rules,
set forth in the General Terms of Use part of this license, apply to
copying and distributing Project Gutenberg-tm electronic works to
protect the PROJECT GUTENBERG-tm concept and trademark. Project
Gutenberg is a registered trademark, and may not be used if you
charge for the eBooks, unless you receive specific permission. If you
do not charge anything for copies of this eBook, complying with the
rules is very easy. You may use this eBook for nearly any purpose
such as creation of derivative works, reports, performances and
research. They may be modified and printed and given away--you may do
practically ANYTHING with public domain eBooks. Redistribution is
subject to the trademark license, especially commercial
redistribution.
*** START: FULL LICENSE ***
THE FULL PROJECT GUTENBERG LICENSE
PLEASE READ THIS BEFORE YOU DISTRIBUTE OR USE THIS WORK
To protect the Project Gutenberg-tm mission of promoting the free
distribution of electronic works, by using or distributing this work
(or any other work associated in any way with the phrase "Project
Gutenberg"), you agree to comply with all the terms of the Full Project
Gutenberg-tm License (available with this file or online at
http://gutenberg.org/license).
Section 1. General Terms of Use and Redistributing Project Gutenberg-tm
electronic works
1.A. By reading or using any part of this Project Gutenberg-tm
electronic work, you indicate that you have read, understand, agree to
and accept all the terms of this license and intellectual property
(trademark/copyright) agreement. If you do not agree to abide by all
the terms of this agreement, you must cease using and return or destroy
all copies of Project Gutenberg-tm electronic works in your possession.
If you paid a fee for obtaining a copy of or access to a Project
Gutenberg-tm electronic work and you do not agree to be bound by the
terms of this agreement, you may obtain a refund from the person or
entity to whom you paid the fee as set forth in paragraph 1.E.8.
1.B. "Project Gutenberg" is a registered trademark. It may only be
used on or associated in any way with an electronic work by people who
agree to be bound by the terms of this agreement. There are a few
things that you can do with most Project Gutenberg-tm electronic works
even without complying with the full terms of this agreement. See
paragraph 1.C below. There are a lot of things you can do with Project
Gutenberg-tm electronic works if you follow the terms of this agreement
and help preserve free future access to Project Gutenberg-tm electronic
works. See paragraph 1.E below.
1.C. The Project Gutenberg Literary Archive Foundation ("the Foundation"
or PGLAF), owns a compilation copyright in the collection of Project
Gutenberg-tm electronic works. Nearly all the individual works in the
collection are in the public domain in the United States. If an
individual work is in the public domain in the United States and you are
located in the United States, we do not claim a right to prevent you from
copying, distributing, performing, displaying or creating derivative
works based on the work as long as all references to Project Gutenberg
are removed. Of course, we hope that you will support the Project
Gutenberg-tm mission of promoting free access to electronic works by
freely sharing Project Gutenberg-tm works in compliance with the terms of
this agreement for keeping the Project Gutenberg-tm name associated with
the work. You can easily comply with the terms of this agreement by
keeping this work in the same format with its attached full Project
Gutenberg-tm License when you share it without charge with others.
1.D. The copyright laws of the place where you are located also govern
what you can do with this work. Copyright laws in most countries are in
a constant state of change. If you are outside the United States, check
the laws of your country in addition to the terms of this agreement
before downloading, copying, displaying, performing, distributing or
creating derivative works based on this work or any other Project
Gutenberg-tm work. The Foundation makes no representations concerning
the copyright status of any work in any country outside the United
States.
1.E. Unless you have removed all references to Project Gutenberg:
1.E.1. The following sentence, with active links to, or other immediate
access to, the full Project Gutenberg-tm License must appear prominently
whenever any copy of a Project Gutenberg-tm work (any work on which the
phrase "Project Gutenberg" appears, or with which the phrase "Project
Gutenberg" is associated) is accessed, displayed, performed, viewed,
copied or distributed:
This eBook is for the use of anyone anywhere at no cost and with
almost no restrictions whatsoever. You may copy it, give it away or
re-use it under the terms of the Project Gutenberg License included
with this eBook or online at www.gutenberg.org/license
1.E.2. If an individual Project Gutenberg-tm electronic work is derived
from the public domain (does not contain a notice indicating that it is
posted with permission of the copyright holder), the work can be copied
and distributed to anyone in the United States without paying any fees
or charges. If you are redistributing or providing access to a work
with the phrase "Project Gutenberg" associated with or appearing on the
work, you must comply either with the requirements of paragraphs 1.E.1
through 1.E.7 or obtain permission for the use of the work and the
Project Gutenberg-tm trademark as set forth in paragraphs 1.E.8 or
1.E.9.
1.E.3. If an individual Project Gutenberg-tm electronic work is posted
with the permission of the copyright holder, your use and distribution
must comply with both paragraphs 1.E.1 through 1.E.7 and any additional
terms imposed by the copyright holder. Additional terms will be linked
to the Project Gutenberg-tm License for all works posted with the
permission of the copyright holder found at the beginning of this work.
1.E.4. Do not unlink or detach or remove the full Project Gutenberg-tm
License terms from this work, or any files containing a part of this
work or any other work associated with Project Gutenberg-tm.
1.E.5. Do not copy, display, perform, distribute or redistribute this
electronic work, or any part of this electronic work, without
prominently displaying the sentence set forth in paragraph 1.E.1 with
active links or immediate access to the full terms of the Project
Gutenberg-tm License.
1.E.6. You may convert to and distribute this work in any binary,
compressed, marked up, nonproprietary or proprietary form, including any
word processing or hypertext form. However, if you provide access to or
distribute copies of a Project Gutenberg-tm work in a format other than
"Plain Vanilla ASCII" or other format used in the official version
posted on the official Project Gutenberg-tm web site (www.gutenberg.org),
you must, at no additional cost, fee or expense to the user, provide a
copy, a means of exporting a copy, or a means of obtaining a copy upon
request, of the work in its original "Plain Vanilla ASCII" or other
form. Any alternate format must include the full Project Gutenberg-tm
License as specified in paragraph 1.E.1.
1.E.7. Do not charge a fee for access to, viewing, displaying,
performing, copying or distributing any Project Gutenberg-tm works
unless you comply with paragraph 1.E.8 or 1.E.9.
1.E.8. You may charge a reasonable fee for copies of or providing
access to or distributing Project Gutenberg-tm electronic works provided
that
- You pay a royalty fee of 20% of the gross profits you derive from
the use of Project Gutenberg-tm works calculated using the method
you already use to calculate your applicable taxes. The fee is
owed to the owner of the Project Gutenberg-tm trademark, but he
has agreed to donate royalties under this paragraph to the
Project Gutenberg Literary Archive Foundation. Royalty payments
must be paid within 60 days following each date on which you
prepare (or are legally required to prepare) your periodic tax
returns. Royalty payments should be clearly marked as such and
sent to the Project Gutenberg Literary Archive Foundation at the
address specified in Section 4, "Information about donations to
the Project Gutenberg Literary Archive Foundation."
- You provide a full refund of any money paid by a user who notifies
you in writing (or by e-mail) within 30 days of receipt that s/he
does not agree to the terms of the full Project Gutenberg-tm
License. You must require such a user to return or
destroy all copies of the works possessed in a physical medium
and discontinue all use of and all access to other copies of
Project Gutenberg-tm works.
- You provide, in accordance with paragraph 1.F.3, a full refund of any
money paid for a work or a replacement copy, if a defect in the
electronic work is discovered and reported to you within 90 days
of receipt of the work.
- You comply with all other terms of this agreement for free
distribution of Project Gutenberg-tm works.
1.E.9. If you wish to charge a fee or distribute a Project Gutenberg-tm
electronic work or group of works on different terms than are set
forth in this agreement, you must obtain permission in writing from
both the Project Gutenberg Literary Archive Foundation and Michael
Hart, the owner of the Project Gutenberg-tm trademark. Contact the
Foundation as set forth in Section 3 below.
1.F.
1.F.1. Project Gutenberg volunteers and employees expend considerable
effort to identify, do copyright research on, transcribe and proofread
public domain works in creating the Project Gutenberg-tm
collection. Despite these efforts, Project Gutenberg-tm electronic
works, and the medium on which they may be stored, may contain
"Defects," such as, but not limited to, incomplete, inaccurate or
corrupt data, transcription errors, a copyright or other intellectual
property infringement, a defective or damaged disk or other medium, a
computer virus, or computer codes that damage or cannot be read by
your equipment.
1.F.2. LIMITED WARRANTY, DISCLAIMER OF DAMAGES - Except for the "Right
of Replacement or Refund" described in paragraph 1.F.3, the Project
Gutenberg Literary Archive Foundation, the owner of the Project
Gutenberg-tm trademark, and any other party distributing a Project
Gutenberg-tm electronic work under this agreement, disclaim all
liability to you for damages, costs and expenses, including legal
fees. YOU AGREE THAT YOU HAVE NO REMEDIES FOR NEGLIGENCE, STRICT
LIABILITY, BREACH OF WARRANTY OR BREACH OF CONTRACT EXCEPT THOSE
PROVIDED IN PARAGRAPH 1.F.3. YOU AGREE THAT THE FOUNDATION, THE
TRADEMARK OWNER, AND ANY DISTRIBUTOR UNDER THIS AGREEMENT WILL NOT BE
LIABLE TO YOU FOR ACTUAL, DIRECT, INDIRECT, CONSEQUENTIAL, PUNITIVE OR
INCIDENTAL DAMAGES EVEN IF YOU GIVE NOTICE OF THE POSSIBILITY OF SUCH
DAMAGE.
1.F.3. LIMITED RIGHT OF REPLACEMENT OR REFUND - If you discover a
defect in this electronic work within 90 days of receiving it, you can
receive a refund of the money (if any) you paid for it by sending a
written explanation to the person you received the work from. If you
received the work on a physical medium, you must return the medium with
your written explanation. The person or entity that provided you with
the defective work may elect to provide a replacement copy in lieu of a
refund. If you received the work electronically, the person or entity
providing it to you may choose to give you a second opportunity to
receive the work electronically in lieu of a refund. If the second copy
is also defective, you may demand a refund in writing without further
opportunities to fix the problem.
1.F.4. Except for the limited right of replacement or refund set forth
in paragraph 1.F.3, this work is provided to you 'AS-IS' WITH NO OTHER
WARRANTIES OF ANY KIND, EXPRESS OR IMPLIED, INCLUDING BUT NOT LIMITED TO
WARRANTIES OF MERCHANTABILITY OR FITNESS FOR ANY PURPOSE.
1.F.5. Some states do not allow disclaimers of certain implied
warranties or the exclusion or limitation of certain types of damages.
If any disclaimer or limitation set forth in this agreement violates the
law of the state applicable to this agreement, the agreement shall be
interpreted to make the maximum disclaimer or limitation permitted by
the applicable state law. The invalidity or unenforceability of any
provision of this agreement shall not void the remaining provisions.
1.F.6. INDEMNITY - You agree to indemnify and hold the Foundation, the
trademark owner, any agent or employee of the Foundation, anyone
providing copies of Project Gutenberg-tm electronic works in accordance
with this agreement, and any volunteers associated with the production,
promotion and distribution of Project Gutenberg-tm electronic works,
harmless from all liability, costs and expenses, including legal fees,
that arise directly or indirectly from any of the following which you do
or cause to occur: (a) distribution of this or any Project Gutenberg-tm
work, (b) alteration, modification, or additions or deletions to any
Project Gutenberg-tm work, and (c) any Defect you cause.
Section 2. Information about the Mission of Project Gutenberg-tm
Project Gutenberg-tm is synonymous with the free distribution of
electronic works in formats readable by the widest variety of computers
including obsolete, old, middle-aged and new computers. It exists
because of the efforts of hundreds of volunteers and donations from
people in all walks of life.
Volunteers and financial support to provide volunteers with the
assistance they need, are critical to reaching Project Gutenberg-tm's
goals and ensuring that the Project Gutenberg-tm collection will
remain freely available for generations to come. In 2001, the Project
Gutenberg Literary Archive Foundation was created to provide a secure
and permanent future for Project Gutenberg-tm and future generations.
To learn more about the Project Gutenberg Literary Archive Foundation
and how your efforts and donations can help, see Sections 3 and 4
and the Foundation web page at http://www.pglaf.org.
Section 3. Information about the Project Gutenberg Literary Archive
Foundation
The Project Gutenberg Literary Archive Foundation is a non profit
501(c)(3) educational corporation organized under the laws of the
state of Mississippi and granted tax exempt status by the Internal
Revenue Service. The Foundation's EIN or federal tax identification
number is 64-6221541. Its 501(c)(3) letter is posted at
http://pglaf.org/fundraising. Contributions to the Project Gutenberg
Literary Archive Foundation are tax deductible to the full extent
permitted by U.S. federal laws and your state's laws.
The Foundation's principal office is located at 4557 Melan Dr. S.
Fairbanks, AK, 99712., but its volunteers and employees are scattered
throughout numerous locations. Its business office is located at
809 North 1500 West, Salt Lake City, UT 84116, (801) 596-1887, email
business@pglaf.org. Email contact links and up to date contact
information can be found at the Foundation's web site and official
page at http://pglaf.org
For additional contact information:
Dr. Gregory B. Newby
Chief Executive and Director
gbnewby@pglaf.org
Section 4. Information about Donations to the Project Gutenberg
Literary Archive Foundation
Project Gutenberg-tm depends upon and cannot survive without wide
spread public support and donations to carry out its mission of
increasing the number of public domain and licensed works that can be
freely distributed in machine readable form accessible by the widest
array of equipment including outdated equipment. Many small donations
($1 to $5,000) are particularly important to maintaining tax exempt
status with the IRS.
The Foundation is committed to complying with the laws regulating
charities and charitable donations in all 50 states of the United
States. Compliance requirements are not uniform and it takes a
considerable effort, much paperwork and many fees to meet and keep up
with these requirements. We do not solicit donations in locations
where we have not received written confirmation of compliance. To
SEND DONATIONS or determine the status of compliance for any
particular state visit http://pglaf.org
While we cannot and do not solicit contributions from states where we
have not met the solicitation requirements, we know of no prohibition
against accepting unsolicited donations from donors in such states who
approach us with offers to donate.
International donations are gratefully accepted, but we cannot make
any statements concerning tax treatment of donations received from
outside the United States. U.S. laws alone swamp our small staff.
Please check the Project Gutenberg Web pages for current donation
methods and addresses. Donations are accepted in a number of other
ways including checks, online payments and credit card donations.
To donate, please visit: http://pglaf.org/donate
Section 5. General Information About Project Gutenberg-tm electronic
works.
Professor Michael S. Hart is the originator of the Project Gutenberg-tm
concept of a library of electronic works that could be freely shared
with anyone. For thirty years, he produced and distributed Project
Gutenberg-tm eBooks with only a loose network of volunteer support.
Project Gutenberg-tm eBooks are often created from several printed
editions, all of which are confirmed as Public Domain in the U.S.
unless a copyright notice is included. Thus, we do not necessarily
keep eBooks in compliance with any particular paper edition.
Most people start at our Web site which has the main PG search facility:
http://www.gutenberg.org
This Web site includes information about Project Gutenberg-tm,
including how to make donations to the Project Gutenberg Literary
Archive Foundation, how to help produce our new eBooks, and how to
subscribe to our email newsletter to hear about new eBooks.