SONY CORPORATION
DDU 100E
Device Type |
Internal DVD-ROM |
Interface |
ATAPI |
Spin Rate (Read/Write) |
8x |
Formats Supported Read |
CD-XA, CD-DA, CD-R, CD-I, CD-ROM (Mode 1), Photo-CD, Video CD, CD-Plus, Video DVD, DVD-ROM |
View |
Top |
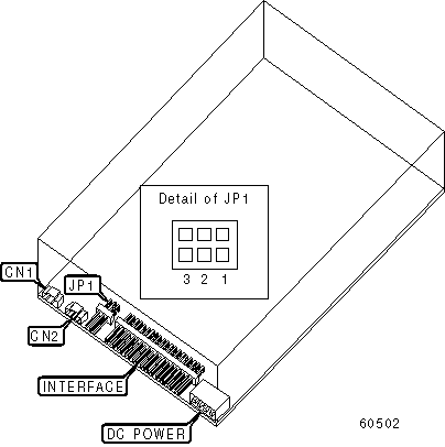
CONNECTIONS | |||
Function |
Label |
Function |
Label |
Digital audio line out |
CN1 |
Audio line out |
CN2 |
ATAPI MASTER/SLAVE | |||
Setting |
JP1/1 |
JP1/2 |
JP1/3 |
Master in two drive system |
Closed |
Open |
Open |
Slave in two drive system |
Open |
Closed |
Open |
Master/slave determined by cable select |
Open |
Open |
Closed |