PLEXTOR
PX-R820TE EXTERNAL
Device Type |
External CD-ROM |
Interface |
SCSI (2) |
Spin Rate (Read/Write) |
20x/8x |
Formats Supported Read |
CD-XA, CD-DA, CD-R, CD-I, CD-ROM (Mode 1 & Mode 2), Photo-CD, CD-Plus, CD-E, CD+G, CD-MIDI |
Formats Supported Write |
CD-XA, CD-DA, CD-R, CD-I, CD-ROM (Mode 1 & Mode 2), Photo-CD, CD-Plus, CD-E, CD+G, CD-MIDI |
View |
Top |
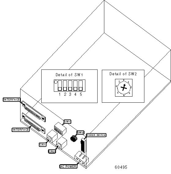
CONNECTIONS | |||
Function |
Label |
Function |
Label |
Audio line out - right |
CN1 |
Audio line out - left |
CN2 |
USER CONFIGURABLE SETTINGS | |||
Setting |
Label |
Position | |
» |
Parity check enabled |
SW1/1 |
On |
Parity check disabled |
SW1/1 |
Off | |
» |
Termination enabled |
SW1/2 |
On |
Termination disabled |
SW1/2 |
Off | |
» |
Factory configured - do not alter |
SW1/3 |
Off |
» |
Block disabled |
SW1/4 |
Off |
Block enabled |
SW1/4 |
On | |
» |
Factory configured - do not alter |
SW1/5 |
Off |
USER CONFIGURABLE SETTINGS |
Note: To select the SCSI ID, rotate SW2 to the desired ID number or letter. |