PLEXTOR
PX-R820TI INTERNAL
Device Type |
Internal CD-ROM |
Interface |
SCSI |
Spin Rate (Read/Write) |
20x |
Formats Supported Read |
CD-XA, CD-DA, CD-R, CD-I, CD-ROM (Mode 1 & Mode 2), Photo-CD, CD-Plus, CD-E, CD+G, CD-MIDI |
Formats Supported Write |
CD-XA, CD-DA, CD-R, CD-I, CD-ROM (Mode 1 & Mode 2), Photo-CD, CD-Plus, CD-E, CD+G, CD-MIDI |
View |
Top |
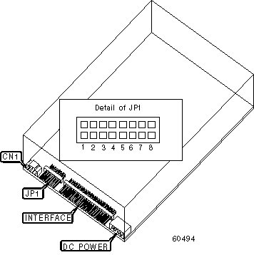
CONNECTIONS | |
Function |
Label |
Audio line out |
CN1 |
USER CONFIGURABLE SETTINGS | |||
Setting |
Label |
Position | |
Parity check disabled |
JP1/4 |
Open | |
» |
Parity check enabled |
JP1/4 |
Closed |
» |
Termination enabled |
JP1/5 |
Closed |
Termination disabled |
JP1/5 |
Open | |
» |
Factory configured - do not alter |
JP1/6 |
Open |
» |
Block disabled |
JP1/7 |
Open |
Block enabled |
JP1/7 |
Closed | |
» |
Factory configured - do not alter |
JP1/8 |
Open |
SCSI ID SELECTION | ||||
SCSI ID |
JP1/1 |
JP1/2 |
JP1/3 | |
0 |
Open |
Open |
Open | |
1 |
Closed |
Open |
Open | |
2 |
Open |
Closed |
Open | |
3 |
Closed |
Closed |
Open | |
» |
4 |
Open |
Open |
Closed |
5 |
Closed |
Open |
Closed | |
6 |
Open |
Closed |
Closed | |
7 |
Closed |
Closed |
Closed |