TEAC CORPORATION
TAPE 800
Device Type |
Internal Tape Drive |
Interface |
Floppy |
Format |
TRAVAN TR-1 |
Sustained Transfer Rate |
500KBPS, 1MBPS |
Size |
3.5 in. quarter height |
View |
Top |
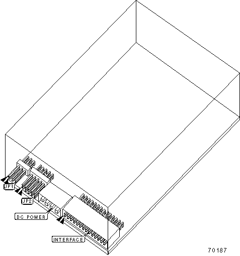
USER CONFIGURABLE SETTINGS | |||
Setting |
Label |
Position | |
» |
Factory configured - do not alter |
JP1 |
Unidentified |
» |
Factory configured - do not alter |
JP2 |
Unidentified |
MANUFACTURERS RECOMMENDED MEDIA | |
Tape |
Capacity with Compression |
TRAVAN TR-1 |
800MB |
QW-5122 F |
420MB |
DC-2120 XL |
340MB |
DIAGNOSTIC LED(S) | |||
LED |
Color |
Status |
Condition |
LED1 |
Unidentified |
On |
Tape is busy |
LED1 |
Unidentified |
Off |
Tape is not in use |