RACORE COMPUTER PRODUCTS, INC.

M8158

Card Type

Network Interface Card

NIC Type

Token Ring

Maximum Onboard Memory

Unidentified

Boot ROM

Available

Network Transfer Rate

4/16Mbps

Topology

Ring

Wiring Type

Shielded twisted pair

Fiber optic cable

Data Bus

32-bit PCI

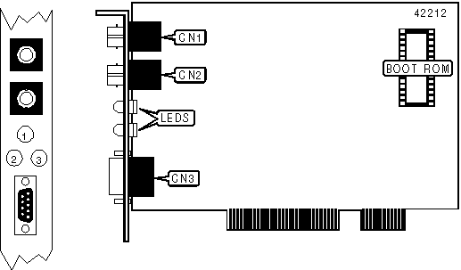
CONNECTIONS

Function

Label

Function

Label

Fiber optic - receive

CN1

STP via DB-9 connector

CN3

Fiber optic - transmit

CN2

   

DIAGNOSTIC LED(S)

Note: Colors and functions of LEDs are unidentified.