REPLY CORPORATION
MODEL 32
Processor |
80386DX/80486SX/80486DX/80486DX2 |
Processor Speed |
20/25/33/50(internal)/50/66(internal)MHz |
Chip Set |
C & T |
Max. onboard DRAM |
16MB |
SRAM Cache |
64/128/256KB (on CPU card) |
BIOS |
Reply Corporation |
Dimensions |
330mm x 250mm |
I/O Options |
32-bit MCA bus slot with video extension, CPU card, floppy drive interface, MCA hard drive interface, parallel ports (2), PS/2 mouse port, serial ports (2), VGA port |
NPU Options |
80387DX/3167 |
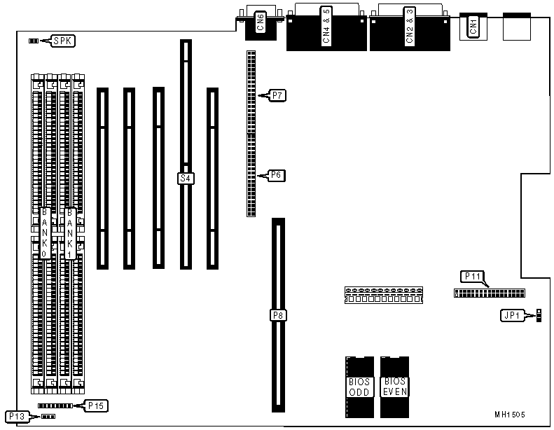
CONNECTIONS | |||
Purpose |
Location |
Purpose |
Location |
PS/2 mouse port |
CN1 |
CPU processor card |
P8 |
Parallel port (top) |
CN2 |
Floppy drive interface |
P11 |
Parallel port (bottom) |
CN3 |
External Battery |
P13 |
Serial port (top) |
CN4 |
Front panel connector |
P15 |
Serial port (bottom) |
CN5 |
MCA bus slot with video extension |
S4 |
VGA Port |
CN6 |
Speaker |
SPK |
MCA hard drive interface |
P6 & P7 |
USER CONFIGURABLE SETTINGS | |||
Function |
Jumper |
Position | |
» |
CMOS memory normal operation |
JP1 |
pins 1 & 2 closed |
CMOS memory clear |
JP1 |
pins 2 & 3 closed |
DRAM CONFIGURATION | ||
Size |
Bank 0 |
Bank 1 |
1MB |
(4) 256K x 9 |
NONE |
2MB |
(4) 256K x 9 |
(4) 256K x 9 |
4MB |
(4) 1M x 9 |
NONE |
5MB |
(4) 256K x 9 |
(4) 1M x 9 |
8MB |
(4) 1M x 9 |
(4) 1M x 9 |
16MB |
(4) 4M x 9 |
NONE |