ALPHA MICROSYSTEMS
AM-740
Card Type |
Memory |
Maximum Onboard Memory |
128MB |
I/O Options |
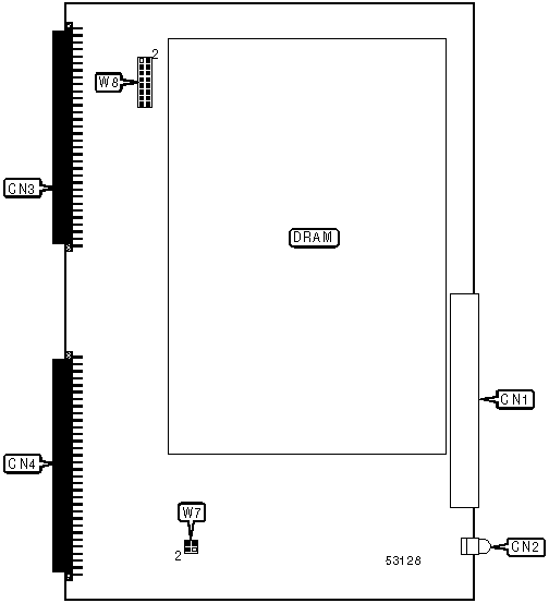
Board connector (1) |
Data Bus |
VMEbus |
CONNECTIONS | |||
Purpose |
Location |
Purpose |
Location |
Board connector |
CN1 |
VMEbus |
CN3 |
Parity status LED |
CN2 |
VMEbus |
CN4 |
DRAM CONFIGURATION |
Note: The size and number of chips are unidentified. This memory board will be factory installed with 4MB, 8MB or 12MB. |
BASE MEMORY SELECTION | |
Size |
W8 |
None |
1 & 2, 3 & 4, 5 & 6, 7 & 8, 9 & 10, 11 & 12, 13 & 14, 15 & 16 |
4MB |
Open |
8MB |
1 & 2 |
12MB |
3 & 4 |
16MB |
1 & 2, 3 & 4 |
20MB |
5 & 6 |
24MB |
1 & 2, 5 & 6 |
28MB |
3 & 4, 5 & 6 |
32MB |
1 & 2, 3 & 4, 5 & 6 |
36MB |
7 & 8 |
40MB |
1 & 2, 7 & 8 |
44MB |
3 & 4, 7 & 8 |
48MB |
1 & 2, 3 & 4, 7 & 8 |
52MB |
5 & 6, 7 & 8 |
56MB |
1 & 2, 5 & 6, 7 & 8 |
60MB |
3 & 4, 5 & 6, 7 & 8 |
64MB |
1 & 2, 3 & 4, 5 & 6, 7 & 8 |
68MB |
9 & 10 |
72MB |
1 & 2, 9 & 10 |
76MB |
3 & 4, 9 & 10 |
80MB |
1 & 2, 3 & 4, 9 & 10 |
84MB |
5 & 6, 9 & 10 |
88MB |
1 & 2, 5 & 6, 9 & 10 |
92MB |
3 & 4, 5 & 6, 9 & 10 |
96MB |
1 & 2, 3 & 4, 5 & 6, 9 & 10 |
100MB |
7 & 8, 9 & 10 |
104MB |
1 & 2, 7 & 8, 9 & 10 |
108MB |
3 & 4, 7 & 8, 9 & 10 |
112MB |
1 & 2, 3 & 4, 7 & 8, 9 & 10 |
116MB |
5 & 6, 7 & 8, 9 & 10 |
120MB |
1 & 2, 5 & 6, 7 & 8, 9 & 10 |
124MB |
3 & 4, 5 & 6, 7 & 8, 9 & 10 |
128MB |
1 & 2, 3 & 4, 5 & 6, 7 & 8, 9 & 10 |
Note: If this memory board is used with an AM-175 CPU board (AM-1500 series), W8 must be set as follows: Pins 11 & 12, 13 & 14, 15 & 16 closed. If the AM-1500 is used, only 16MB are available. Any memory above 16MB will be automatically disabled. Before this board can be installed in an AM-1500, a 4MB memory board must be installed. Pins designated should be in the closed position. |
TIMING DETECTION SELECTION | |
CPU board used |
W7 |
AM-175 |
Pins 2 & 4 closed |
AM-180 |
Pins 2 & 4 closed |
AM-185 |
Open |
AM-185 (50) |
Pins 1 & 3, 2 & 4 closed |