ADVANCED MICROCOMPUTER SYSTEMS, INC.
422/485PC-10/DB25
Card Type |
Serial card |
Chip Set |
Unidentified |
Maximum Onboard Memory |
N/A |
I/O Options |
Serial port |
Data Bus |
16-bit ISA |
Floppy drives supported |
N/A |
CONNECTIONS | |
Function |
Label |
25-pin serial port |
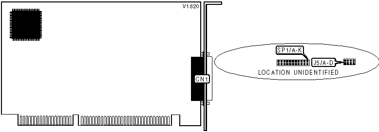
CN1 |
SERIAL PORT ADDRESS CONFIGURATION | |||||
Setting |
J5/A |
J5/B |
J5/C |
J5/D | |
» |
COM1 (3F8h) |
Closed |
Open |
Open |
Open |
COM2 (2F8h) |
Open |
Closed |
Open |
Open | |
COM3 (3E8h) |
Open |
Open |
Closed |
Open | |
COM4 (2E8h) |
Open |
Open |
Open |
Closed | |
Disabled |
Open |
Open |
Open |
Open |
SERIAL PORT 1 INTERRUPT SELECTION | |||||||
IRQ |
SP1/A |
SP1/B |
SP1/C |
SP1/D |
SP1/E |
SP1/F | |
2/9 |
Closed |
Open |
Open |
Open |
Open |
Open | |
3 |
Open |
Closed |
Open |
Open |
Open |
Open | |
» |
4 |
Open |
Open |
Closed |
Open |
Open |
Open |
5 |
Open |
Open |
Open |
Closed |
Open |
Open | |
6 |
Open |
Open |
Open |
Open |
Closed |
Open | |
7 |
Open |
Open |
Open |
Open |
Open |
Closed | |
10 |
Open |
Open |
Open |
Open |
Open |
Open | |
11 |
Open |
Open |
Open |
Open |
Open |
Open | |
12 |
Open |
Open |
Open |
Open |
Open |
Open | |
14 |
Open |
Open |
Open |
Open |
Open |
Open | |
15 |
Open |
Open |
Open |
Open |
Open |
Open |
SERIAL PORT 1 INTERRUPT SELECTION (CON’T) | ||||||
IRQ |
SP1/G |
SP1/H |
SP1/I |
SP1/J |
SP1/K | |
2/9 |
Open |
Open |
Open |
Open |
Open | |
3 |
Open |
Open |
Open |
Open |
Open | |
» |
4 |
Open |
Open |
Open |
Open |
Open |
5 |
Open |
Open |
Open |
Open |
Open | |
6 |
Open |
Open |
Open |
Open |
Open | |
7 |
Open |
Open |
Open |
Open |
Open | |
10 |
Closed |
Open |
Open |
Open |
Open | |
11 |
Open |
Closed |
Open |
Open |
Open | |
12 |
Open |
Open |
Closed |
Open |
Open | |
14 |
Open |
Open |
Open |
Closed |
Open | |
15 |
Open |
Open |
Open |
Open |
Closed |