UNIDENTIFIED
MAGIC I/O PLUS CARD
Hard Drives supported |
Two IDE (AT) drives |
Floppy drives supported |
Two 360KB, 720KB, 1.2MB, or 1.44MB drives |
Data Bus |
16-bit ISA |
Card Size |
Half-length, full-height card |
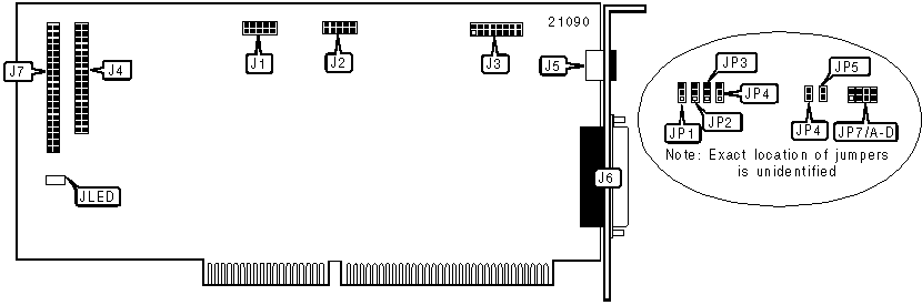
CONNECTIONS | |||
Function |
Location |
Function |
Location |
10-pin serial port 1 - internal |
J1 |
Bus mouse port - external |
J5 |
10-pin serial port 2 - internal |
J2 |
25-pin parallel port - external |
J6 |
16-pin game port |
J3 |
40-pin IDE(AT) connector |
J7 |
34-pin cable connector - floppy drive |
J4 |
Drive active LED |
JLED |
USER CONFIGURABLE SETTINGS | |||
Function |
Label |
Position | |
» |
IDE(AT) interface enabled |
JP1 |
Pins 1 & 2 closed |
IDE(AT) interface disabled |
JP1 |
Pins 2 & 3 closed |
PARALLEL PORT ADDRESS SELECTION | ||
Setting |
JP5 |
JP6 |
LPT2 (278h) |
Closed |
Open |
LPT3 (3BCh) |
Pins JP5/1 & JP6/2 closed | |
Disabled |
Open |
Closed |
SERIAL PORT 1 ADDRESS SELECTION | |||
Setting |
JP2 |
JP3 |
JP4 |
COM1 (3F8h) |
Pins 2 & 3 closed |
Pins 1 & 2 closed |
Pins 1 & 2 closed |
COM2 (2F8h) |
Pins 2 & 3 closed |
Pins 2 & 3 closed |
Pins 1 & 2 closed |
COM1 & COM2 |
Pins 1 & 2 closed |
Pins 1 & 2 closed |
Pins 2 & 3 closed |
Disabled |
Pins 1 & 2 closed |
Pins 2 & 3 closed |
Pins 2 & 3 closed |
MOUSE BUS INTERRUPT SELECTION | ||||
IRQ |
JP7/A |
JP7/B |
JP7/C |
JP7/D |
2 |
Open |
Open |
Open |
Closed |
3 |
Open |
Open |
Closed |
Open |
4 |
Open |
Closed |
Open |
Open |
5 |
Closed |
Open |
Open |
Open |